Curiosii for ever!: Car repair manuals for everyone.

Part 1



Thread Repair Specifications

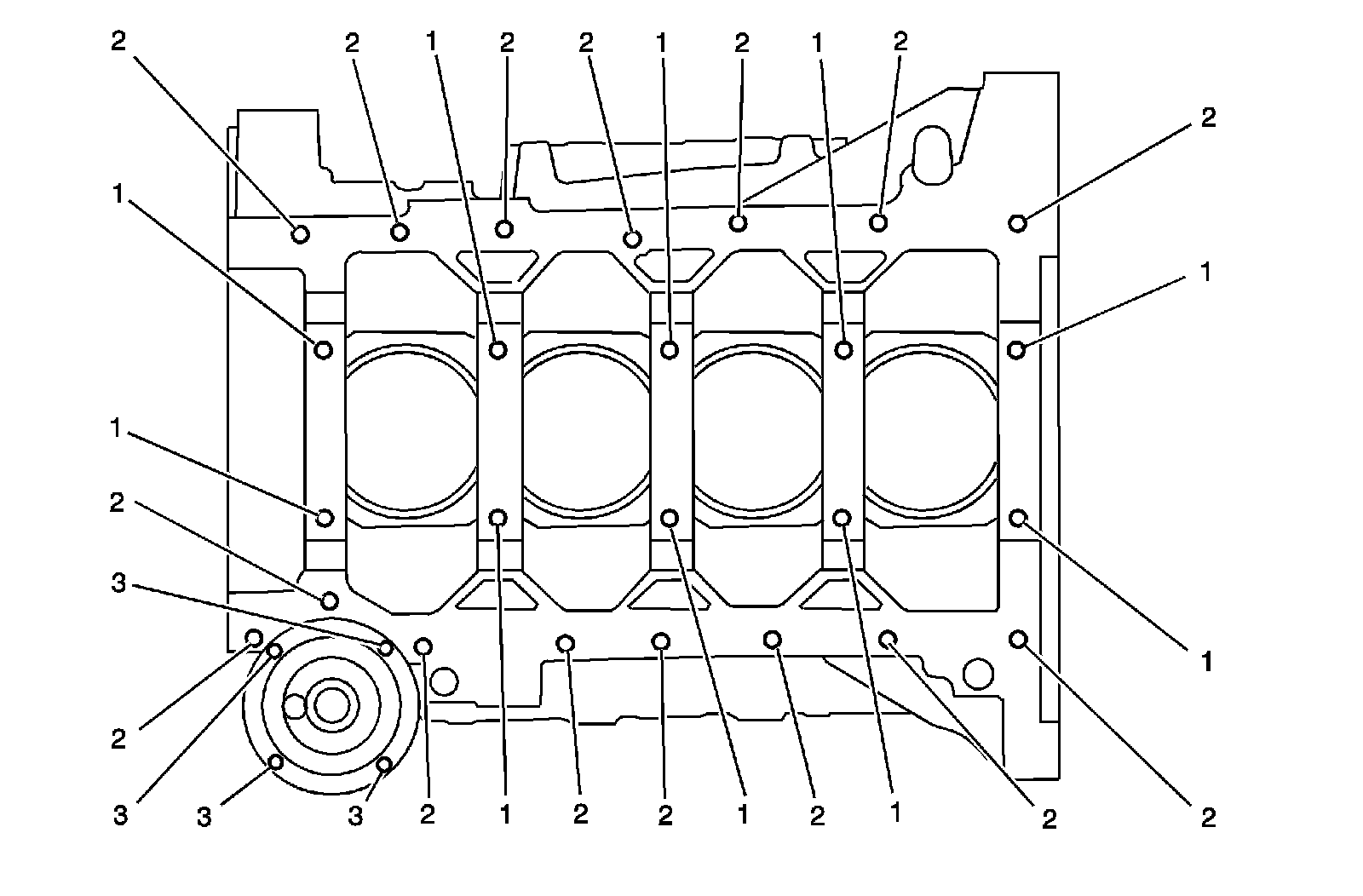
Engine Block - Top View:




Engine Block - Top View:




Engine Block - Bottom:




Engine Block - Bottom:




Engine Block - Left Side View:




Engine Block - Left Side View:




Engine Block - Right Side View:




Engine Block - Right Side View:




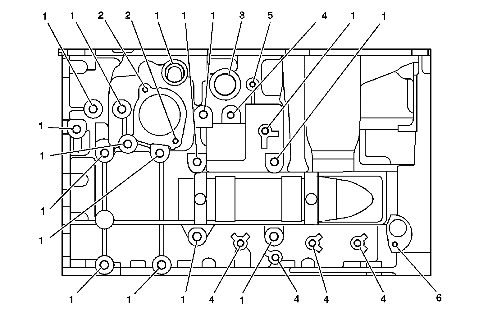
Engine Block - Front View:




Engine Block - Front View:




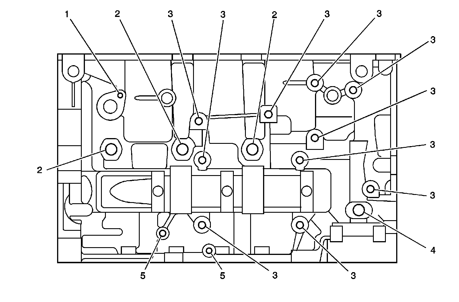
Engine Block - Rear View:




Engine Block - Rear View:




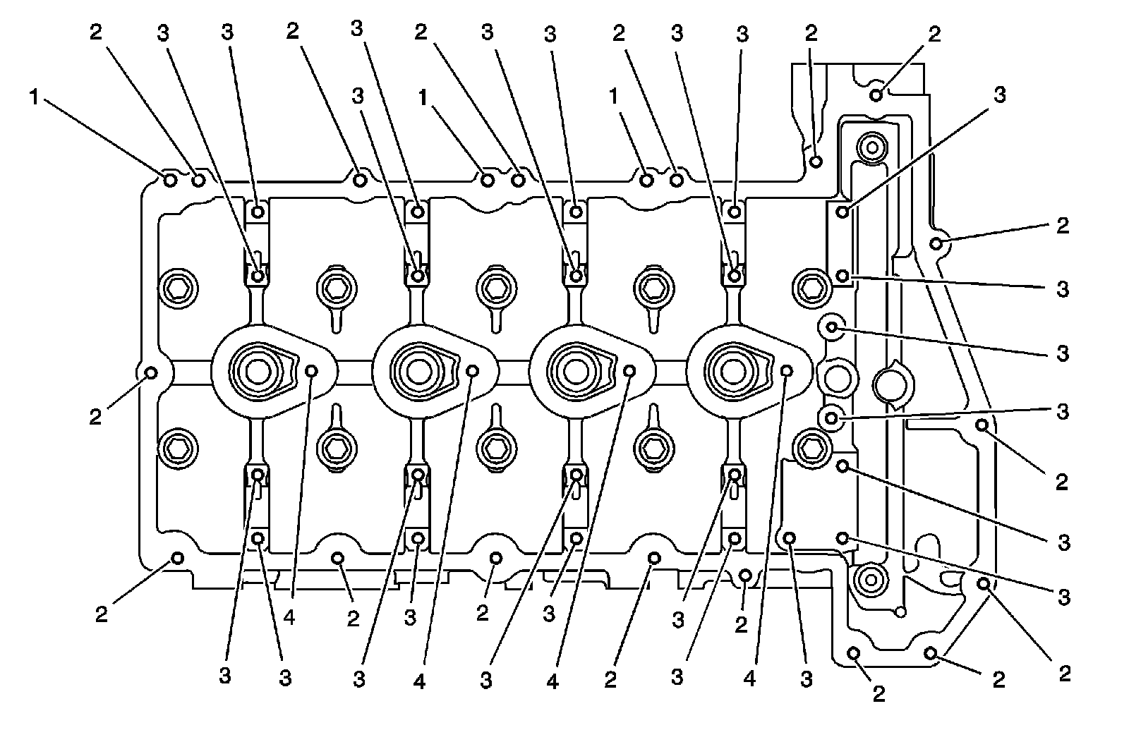
Cylinder Head - Top View:




Cylinder Head - Top View:




Cylinder Head - End - Front View:




Cylinder Head - End - Front View:




Cylinder Head - End - Rear View:




Cylinder Head - End - Rear View:




Cylinder Head - Intake Manifold Deck View:




Cylinder Head - Intake Manifold Deck View: