Curiosii for ever!
: Car repair manuals for everyone.
Home
>>
GMC Truck
>>
2000
>>
Safari Van AWD V6-4.3L VIN W
>>
Repair and Diagnosis
>>
Powertrain Management
>>
Computers and Control Systems
>>
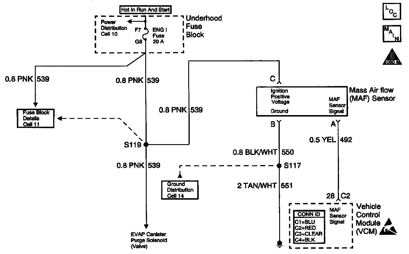
Air Flow Meter/Sensor
>>
Diagrams
>>
Electrical Diagrams
Electrical Diagrams
Schematics: