Curiosii for ever!
: Car repair manuals for everyone.
Home
>>
Freightliner Truck
>>
2009
>>
Sprinter 2500 V6-3.0L DSL Turbo
>>
Repair and Diagnosis
>>
Diagrams
>>
Connector Views
>>
Body Control Module
>>
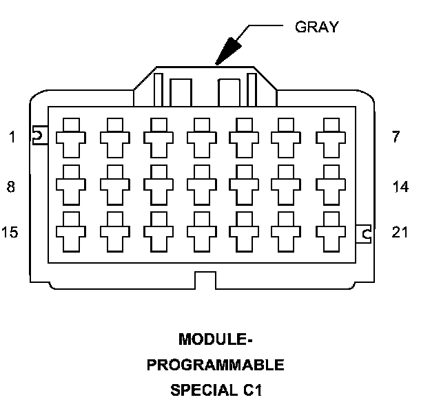
Programmable Special Module C1 (HLS) 21 Way
Programmable Special Module C1 (HLS) 21 Way
Connector C1 - (HLS) 21 WAY
MODULE-PROGRAMMABLE SPECIAL - (HLS) 21 WAY