Control-A/C-Heater
Component ID: 139
Component : CONTROL-A/C-HEATER
Connector:
Name : CONTROL-A/C-HEATER C1
Color :
# of pins : 6
Pin Circuit Description
1 491 10RD FUSED B(+)
2 U151 10WT -
3 487 10DG -
4 488 10DB -
5 2325 10BR -
6 U162 10RD/WT -
Connector:
Name : CONTROL-A/C-HEATER C2
Color : BLACK
# of pins : 28
Pin Circuit Description
1 2327 20BR/RD CAN B BUS (+)
2 2326 20BR CAN B BUS (-)
3 2329 20YL/VT D5
4 - -
5 2767 20GY/YL POTENTIOMETER-AIR DISTRIBUTION FLAP ACTUATOR MOTOR
6 2400 20DB PLUS EVAPORATOR SENSOR-FRONT
7 2396 20GY POTENTIOMETER-TEMPERATURE MIXING FLAP ACTUATOR MOTOR
8 2393 20OR OUTSIDE AIR/RECIRCULATED AIR FLAP CONTROL MOTOR
9 2328 20BK/YL FUSED B(+)
10 2394 20DG OUTSIDE AIR/RECIRCULATED AIR FLAP CONTROL MOTOR
11 2399 20WT PLUS TEMPERATURE MIXING FLAP ACTUATOR MOTOR
12 2398 20YL MINUS TEMPERATURE MIXING FLAP ACTUATOR MOTOR
13 2402 20GY/DG MOTOR-AIR DISTRIBUTION FLAP ACTUATOR MOTOR
14 2403 20DB/RD MOTOR-AIR DISTRIBUTION FLAP ACTUATOR MOTOR
15 2405 20RD/BK POTENTIOMETER-AIR DISTRIBUTION FLAP ACTUATOR MOTOR
16 - -
17 - -
18 - -
19 - -
20 - -
21 - -
22 2397 20RD POTENTIOMETER-TEMPERATURE MIXING FLAP ACTUATOR MOTOR
23 2401 20PK MINUS EVAPORATOR SENSOR-FRONT
24 - -
25 - -
26 - -
27 2404 20BR/BK POTENTIOMETER-AIR DISTRIBUTION FLAP ACTUATOR MOTOR
28 2395 20BK POTENTIOMETER-TEMPERATURE MIXING FLAP ACTUATOR MOTOR
Connector:
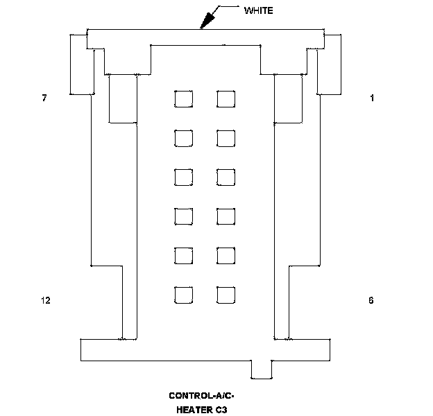
Name : CONTROL-A/C-HEATER C3
Color : WHITE
# of pins : 12
Pin Circuit Description
1 2719 18DB/GY ADDITIONAL WATER PUMP
2 511 18BR GROUND
3 - -
4 U815Y 20GY/DB TERM.58D
5 59 18BK/OR FUSED B(+)
6 2338 20YL/VT DF SIGNAL (ALTERNATOR)
7 3990 18RD/WT FUSED B(+)
7 56 18RD/WT FUSED B(+)
8 57 20BR/RD CAN B BUS (+)
9 58 20BR CAN B BUS (-)
10 3784 18RD/WT FUSED B(+)
11 - -
12 3785 18DB/GY ADDITIONAL WATER PUMP
Connector:
Name : CONTROL-A/C-HEATER C4
Color : BLACK
# of pins : 12
Pin Circuit Description
1 2343 20DG SIGNAL-REFRIGERANT PRESSURE SENSOR
2 2342 20DB/RD PLUS REFRIGERANT PRESSURE SENSOR
3 2357 18DB/VT CONDENSER VENTILATOR STEP 1
4 2725 20YL/VT DF SIGNAL (ALTERNATOR)
5 2358 18DB/DG COMPRESSOR CONTROL VALVE
6 2724 20BR CAN B BUS (-)
7 2356 18DB/WT CONDENSER VENTILATOR STEP 2
8 2721 18BR GROUND
9 2369 18DB/GY ADDITIONAL WATER PUMP
10 2344 20BR/DB MINUS REFRIGERANT PRESSURE SENSOR
11 2722 18RD/WT TERM.30
12 2723 20BR/RD CAN B BUS (+)
Connector:
Name : CONTROL-A/C-HEATER C5
Color :
# of pins : 8
Pin Circuit Description
1 2391 20DG OUTSIDE AIR/RECIRCULATED AIR FLAP CONTROL MOTOR
2 2392 20OR OUTSIDE AIR/RECIRCULATED AIR FLAP CONTROL MOTOR
3 53 20YL/VT DF
4 52 20BK/YL FUSED B(+)
5 51 20BR/RD CAN B BUS (+)
6 50 20BR CAN B BUS (-)
7 - -
8 - -
Connector:
Name : CONTROL-A/C-HEATER C6
Color :
# of pins : 8
Pin Circuit Description
1 2726 20BR/WT ACTUATOR MOTOR-WATER VALVE-REAR HEATING
2 2730 20GY/WT POTENTIOMETER-WATER VALVE-REAR HEATING
3 2731 20DG/RD BLOWER CONTROL SIGNAL-REAR HEATING
4 2729 20RD/WT POTENTIOMETER-WATER VALVE-REAR HEATING
5 2727 20YL/WT ACTUATOR MOTOR-WATER VALVE-REAR HEATING
6 2728 20BK/WT POTENTIOMETER-WATER VALVE-REAR HEATING
7 - -
8 - -
Connector:
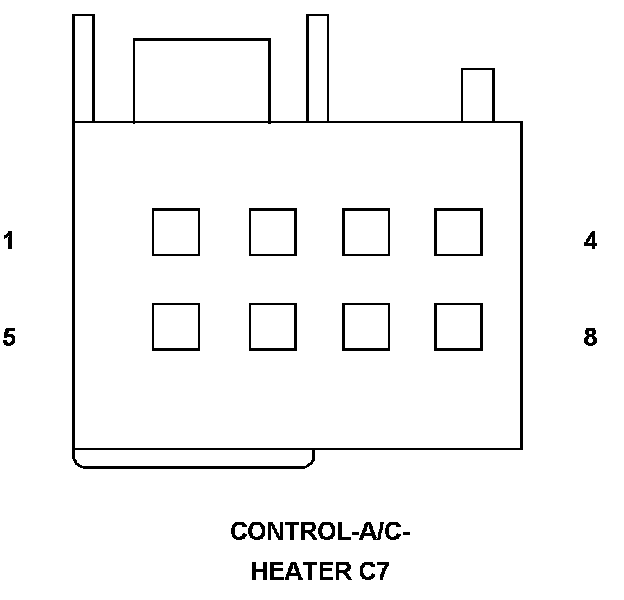
Name : CONTROL-A/C-HEATER C7
Color :
# of pins : 8
Pin Circuit Description
1 2739 20BR/WT ACTUATOR MOTOR-WATER VALVE-REAR HEATING
2 2743 20GY/WT POTENTIOMETER-WATER VALVE-REAR HEATING
3 2744 20DG/RD BLOWER CONTROL SIGNAL-REAR HEATING
4 2742 20RD/WT POTENTIOMETER-WATER VALVE-REAR HEATING
5 2740 20YL/WT ACTUATOR MOTOR-WATER VALVE-REAR HEATING
6 2741 20BK/WT POTENTIOMETER-WATER VALVE-REAR HEATING
7 - -
8 - -
Connector:
Name : CONTROL-A/C-HEATER C8
Color :
# of pins : 12
Pin Circuit Description
1 2745 20RD/DB POTENTIOMETER-TEMPERATURE MIXING FLAP ACTUATOR MOTOR
2 2752 20RD/DG PLUS REFRIGERANT SHUT-OFF VALVE
3 2748 20YL/DB PLUS TEMPERATURE MIXING FLAP ACTUATOR MOTOR
4 2749 20BR/DB MINUS TEMPERATURE MIXING FLAP ACTUATOR MOTOR
5 2750 20DG/VT BLOWER CONTROL SIGNAL-REAR AIR CONDITIONING
6 2753 20RD/YL PLUS EVAPORATOR SENSOR-FRONT
7 2746 20GY/DB POTENTIOMETER-TEMPERATURE MIXING FLAP ACTUATOR MOTOR
8 2754 20BR/YL INTERIOR AIR TEMPERATURE SENSOR IN REAR OF VEHICLE-MINUS
9 - -
10 - -
11 - -
12 2751 20BR/DG MINUS REFRIGERANT SHUT-OFF VALVE
Connector:
Name : CONTROL-A/C-HEATER C9
Color : BLACK
# of pins : 10
Pin Circuit Description
1 3786 18RD/VT FUSED B(+)
2 3787 18RD/VT FUSED B(+)
3 - -
4 U2211 18DB/YL SOLENOID VALVE-COMPRESSOR CLUTCH
5 U2211 18DB/YL SOLENOID VALVE-COMPRESSOR CLUTCH
6 3792 20DG SIGNAL-REFRIGERANT PRESSURE SENSOR
7 3793 20BR/OR MINUS REFRIGERANT PRESSURE SENSOR
8 3794 20DB/RD PLUS REFRIGERANT PRESSURE SENSOR
9 3790 18DB/WT RELAY-AIR CONDITIONING VENTILATOR 2-REAR OF VEHICLE
10 3791 18DB/VT RELAY-AIR CONDITIONING VENTILATOR 1-REAR OF VEHICLE