Curiosii for ever!: Car repair manuals for everyone.

Transmission Temperature Sensor






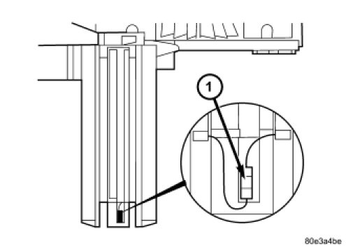
TRANSMISSION TEMPERATURE SENSOR





The transmission oil temperature sensor (1) is located in the shell of the electric valve control unit and is fixed to the conductor tracks.


Its purpose is to measure the temperature of the transmission oil and pass the temperature to the TCM as an input signal. It is a temperature-dependent resistor (PTC).