Curiosii for ever!
: Car repair manuals for everyone.
Home
>>
Freightliner Truck
>>
2004
>>
Sprinter 3500 L5-2.7L DSL Turbo
>>
Repair and Diagnosis
>>
Diagrams
>>
Electrical Diagrams
>>
Transmission Control Systems
>>
System Schematics
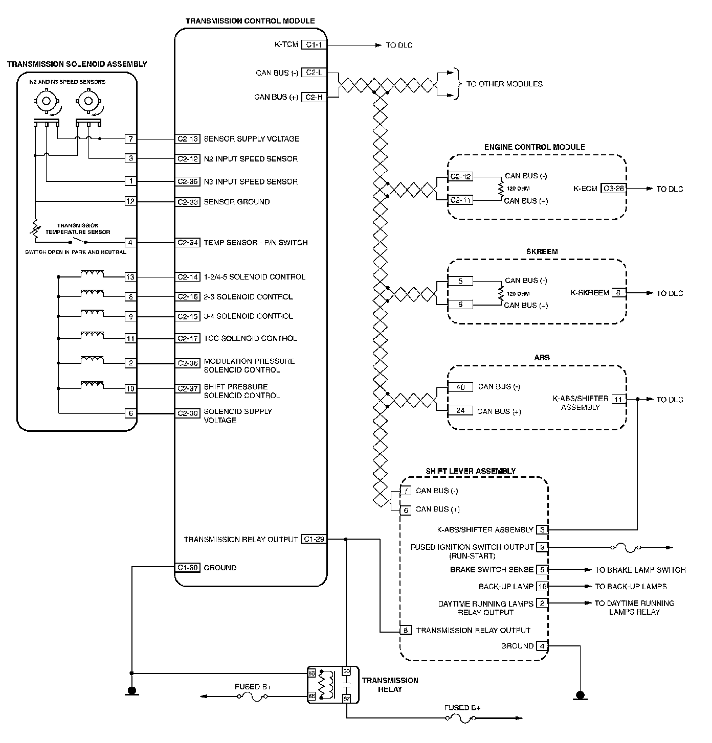
System Schematics
SCHEMATIC DIAGRAMS