Curiosii for ever!: Car repair manuals for everyone.

Cabin Air Filter / Purifier: Service and Repair




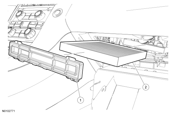
Cabin Air Filter









Removal and Installation

1. Detach the glove compartment damper and lower the glove compartment.

2. Remove the cabin air filter access door.

3. Remove the cabin air filter.

4. To install, reverse the removal procedure.