Curiosii for ever!: Car repair manuals for everyone.

Transmission Speed Sensor: Service and Repair




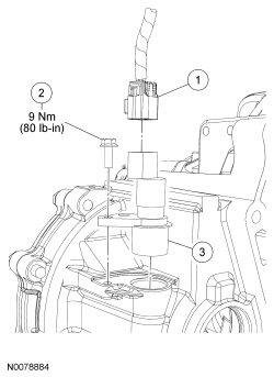
Vehicle Speed Sensor (VSS)













Removal and Installation

1. With the vehicle in NEUTRAL, position it on a hoist.

2. Disconnect the Vehicle Speed Sensor (VSS) electrical connector.





3. Remove the VSS (Vehicle Speed Sensor) bolt.
- To install, tighten to 9 Nm (80 lb-in).


4. Remove the VSS (Vehicle Speed Sensor).
- Discard the O-ring.


5. To install, reverse the removal procedure.
- Apply clean manual transaxle fluid to a new O-ring and install it on the VSS (Vehicle Speed Sensor).