Curiosii for ever!: Car repair manuals for everyone.

Differential: Service and Repair




Differential













Disassembly

1. Inspect the differential for wear or damage.
- Inspect for damaged or worn gears.

- Inspect for worn or damaged differential bearings.

- Install new components as necessary.


2. Remove the differential side gears and thrust washers.
- Rotate the differential side gears to remove.






3. Remove and discard the differential pinion shaft lock pin.





4. Remove the differential pinion shaft, the differential pinon gears and the thrust washers.

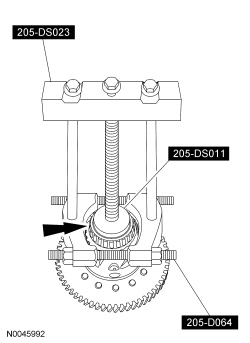
5. Using the Step Plate Adapter Set, Bearing Puller and the Push/Puller Set, remove the differential bearing.
- Always install new bearings and cups as a set.






6. Remove the speedometer drive gear.





7. Rotate the differential assembly. Using the Step Plate Adapter Set, Bearing Puller and the Push/Puller Set, remove the other differential bearing.
- Always install new bearings and cups as a set.






Assembly

1. Align the locking tabs and install the speedometer drive gear.





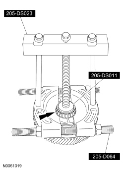
2. NOTICE: Press the differential bearings onto the differential case by the inner race only. Pressing on the outer race will damage the bearing.

Using the Differential Bearing Cup Installer and a suitable press, press the differential bearing onto the differential case.
- Always install new bearings and cups as a set.






3. Rotate the differential case. Using the Differential Bearing Cup Installer and a suitable press, press on the differential bearing.
- Always install new bearings and cups as a set.






4. Install the differential pinion gears and thrust washers.

5. Install the differential pinion shaft.

6. Install the new differential pinion shaft lock pin.





7. Install the differential side gears and thrust washers.

8. Measure the differential backlash using the following steps in the following sequence:
1. Install the LH and RH halfshafts in the differential.

2. Support the halfshafts on V-blocks as shown.

3. Using the Dial Indicator Gauge with Holding Fixture, measure the backlash of both pinion gears.
- If not within specification, replace worn and damaged parts.