Curiosii for ever!: Car repair manuals for everyone.

Radiator: Service and Repair




Radiator - 3.5L

Radiator (View 1 of 2)










Radiator (View 2 of 2)










1. Drain the cooling system. For additional information, refer to Cooling System Draining, Filling and Bleeding Service and Repair.

2. Remove the cooling fan motor and shroud. For additional information, refer to Cooling Fan Motor and Shroud- 3.5L Service and Repair.

3. Detach the power steering hose retainer from the radiator.





4. Detach the coolant hose retainer from the radiator.





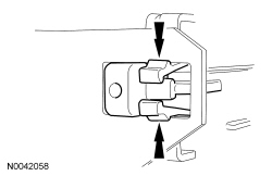
5. Disconnect the radiator-to-degas bottle hose from the radiator.

6. Disconnect the 2 transmission cooling tubes from the radiator.
- To install, tighten to 30 Nm (22 lb-ft).


7. Disconnect the lower radiator hose from the radiator.

8. Remove the 2 bolts from the upper radiator support brackets and position the radiator towards the engine and remove the 2 upper radiator support brackets from the radiator.
- To install, tighten to 10 Nm (89 lb-in).


9. Remove the A/C condenser-to-radiator pin-type retainer.





10. Squeeze the tabs and separate the A/C condenser from the radiator.
- Remove the radiator.






11. To install, reverse the removal procedure.

12. Fill and bleed the cooling system. For additional information, refer to Cooling System Draining, Filling and Bleeding Service and Repair.