Curiosii for ever!: Car repair manuals for everyone.

Differential: Service and Repair




Differential













Disassembly

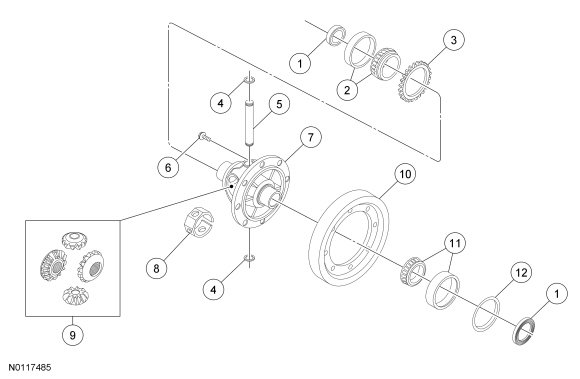
1. NOTE: Clutch side shown, transaxle side similar.
Install the special tools.






2. NOTE: Transaxle side shown, clutch side similar.
Using the special tools, remove the differential bearings from the differential assembly.






3. Remove the differential pinions.
1. Remove the differential pinion shaft snap ring.

2. Remove the differential pinion shaft.

3. Rotate and remove the differential pinion gears.

4. Rotate and remove the differential pinion gears.

5. Remove the differential pinion gear case lining.






4. Remove the differential ring gear bolts as follows:
1. Loosen the 3 differential bolts four turns.

2. Remove and discard the 2 differential bolts.

3. Remove and save the 3 differential bolts.






5. Using a hammer, hit the 3 remaining differential bolts, remove and discard the differential bolts and remove the differential ring gear.





Assembly

1. Install the differential ring gear and the 3 bolts saved during disassembly.
- Tighten to 105 Nm (77 lb-ft).






2. Remove and discard the 3 bolts.





3. Install 8 new differential ring gear bolts.
- Tighten to 105 Nm (77 lb-ft).






4. Install the differential pinion gears.
1. Install the differential pinion gear case lining.

2. Install the differential pinion gears.

3. Install the differential pinion gears.

4. Install the differential pinion shaft.

5. Install the differential pinion shaft snap ring.






5. NOTE: Transaxle side shown, clutch side similar.
Using the special tools, install the differential bearings.