Curiosii for ever!
: Car repair manuals for everyone.
Home
>>
Ford
>>
2011
>>
Fiesta L4-1.6L
>>
Repair and Diagnosis
>>
Wiper and Washer Systems
>>
Wiper Switch
>>
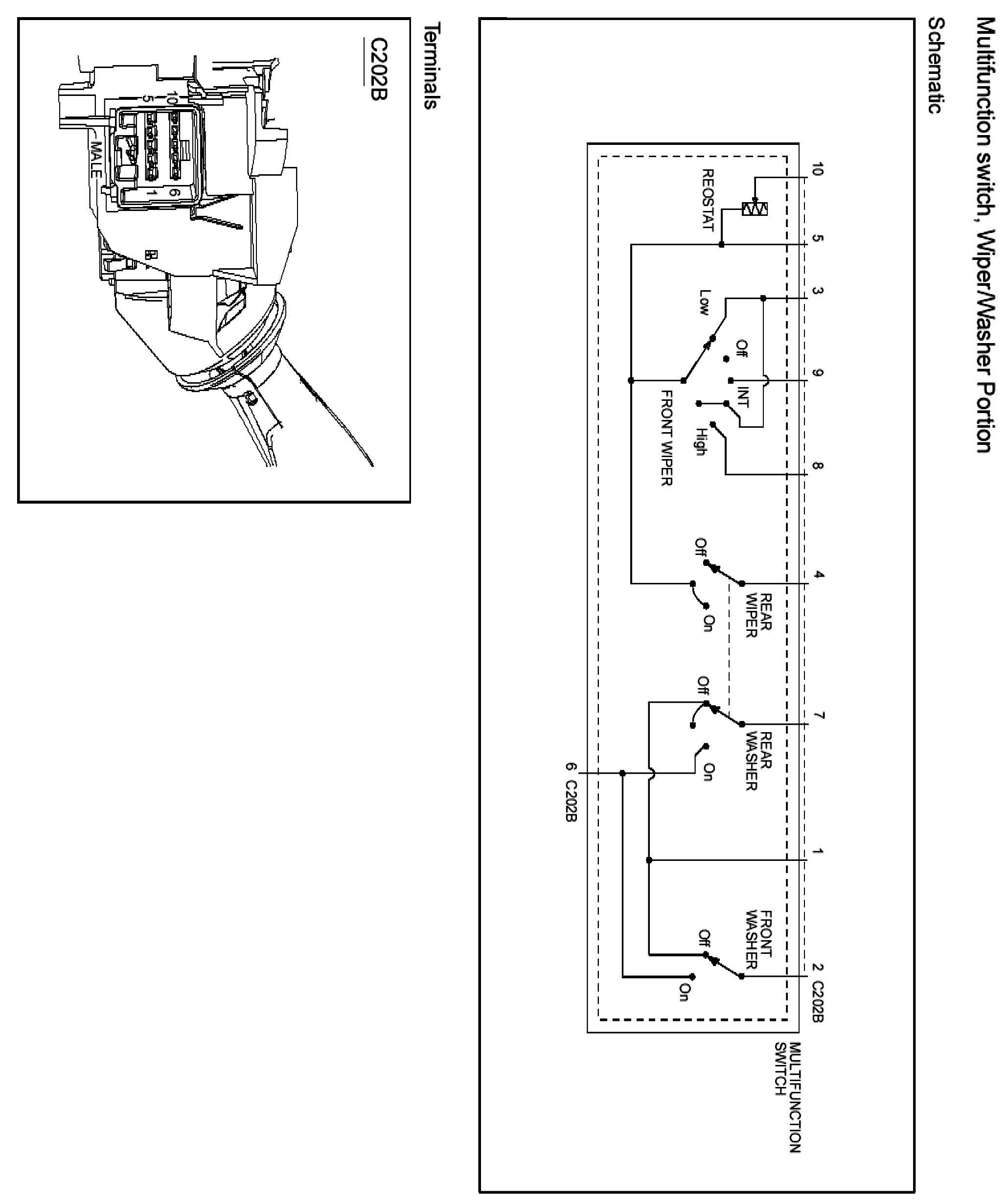
Testing and Inspection
Wiper Switch: Testing and Inspection