Curiosii for ever!: Car repair manuals for everyone.

Condenser HVAC: Service and Repair




Condenser Core













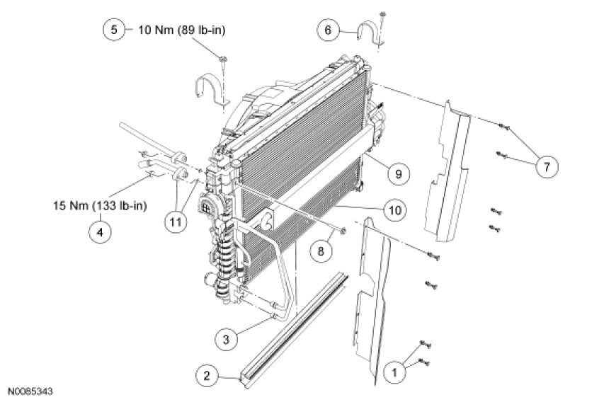
Removal and Installation

NOTE: The condenser core is a combination cooler with the bottom rows being used as an Oil-To-Air (OTA) transmission cooler. If a new A/C condenser is being installed to correct a suspected refrigerant leak due to fluorescent dye being found on the condenser, it should be verified that the dye is not a result of a transmission fluid leak.

1. Recover the refrigerant.

2. WARNING: Before servicing a vehicle equipped with a fire suppression system, depower the system by following the procedure in Fire Suppression System. Failure to follow the instructions may result in serious personal injury. Procedures
With the vehicle in NEUTRAL, position it on a hoist.

3. Remove the pin-type retainers and the radiator upper sight shield.





4. Remove the 4 lower side air deflector pin-type retainers.

5. Remove the bottom cooling module air deflector.

6. Disconnect the 2 transmission cooler line fittings at the condenser.

7. Remove the 2 condenser fitting nuts and disconnect the fittings.
- Discard the O-ring seals and gasket seals.

- To install, tighten to 15 Nm (133 lb-in).

8. Remove the 4 upper side air deflector pin-type retainers.

9. Remove the 2 cooling module bracket bolts.
- To install, tighten to 10 Nm (89 lb-in).

10. Remove the 2 cooling module brackets.

11. Remove the condenser bolt.

12. Detach the power steering cooler from the cooling module clips.

13. Tilt the cooling module back and remove the condenser core.

14. WARNING: If the vehicle is equipped with a fire suppression system, repower the system. For important safety warnings and procedures, refer to Fire Suppression System. Failure to follow these instructions may result in serious personal injury. Procedures
To install, reverse the removal procedure.
- Install new O-ring seals and gasket seals.

- Lubricate the refrigerant system with the correct amount of clean PAG oil.

15. Evacuate, leak test and charge the refrigerant system.

16. Fill the transmission fluid to the correct level.