Curiosii for ever!: Car repair manuals for everyone.

Quarter Window Glass: Service and Repair

WINDOW GLASS - REAR QUARTER

Special Tool(s)


Special Tool(s):






Material


Material:











Removal

WARNING:
- Always wear eye protection when servicing a vehicle. Failure to follow this instruction may result in serious personal injury.
- Wear protective gloves when handling components or parts that have pointed or sharp edges. Failure to follow this instruction may result in serious personal injury.


1. Remove the C-pillar, D-pillar and rear quarter trim panels.

2. NOTE:
- Use care when cutting the glass not to scratch the paint on the vehicle.
- Lubricate the existing urethane adhesive with water to aid the special tool while cutting.

From the outside of the vehicle, using the special tool, cut the top portion of glass.

3. NOTE: Lubricate the existing urethane adhesive with water to aid the special tool while cutting.

From inside the vehicle, using the special tool, cut the glass starting at the upper C-pillar and work down, across the bottom, then upward toward the upper D-pillar.

4. Remove the rear quarter window glass.
5. Using a soft brush or vacuum, remove any dirt or foreign material from the pinch weld.

Installation

NOTE: For additional material guidelines, refer to the manufacturer's installation information.

1. Dry fit the rear quarter window glass to the existing urethane adhesive bead on the body pinch weld. Align the rear quarter window glass in the opening for a uniform fit.
2. Use a non-permanent pencil to make alignment marks on the rear quarter window glass at the setting blocks and the body to aid in the installation alignment of the rear quarter window glass.
3. Remove the rear quarter window glass.

4. WARNING: Repair any corrosion found on the pinch weld. The pinch weld is a structural component of the vehicle. Corrosion left unrepaired may reduce the structural integrity of the vehicle. Failure to follow this instruction may result in serious injury to vehicle occupant(s).

NOTE: Avoid scratching the pinch weld. For minor scratches or exposed metal on the pinch weld, see manufacturer's recommendations.

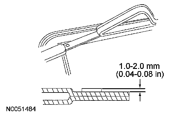
Using an appropriate tool, trim the urethane adhesive leaving a 1 mm to 2 mm (0.04 in to 0.08 in) base of original equipment urethane on the pinchweld.







5. If installing the original rear quarter window glass, remove the excess urethane adhesive.
6. Clean the inside of the rear quarter window glass surface with glass cleaner.

7. NOTE:
- Be sure to use the same brand and cure-rate products for the adhesive and primer. Do not mix different brands of urethane and primer. Refer to the Material Chart in this procedure.
- Sika uses the same black primer for the glass and pinch weld area.

If installing a new rear quarter window glass, apply urethane glass primer according to manufacturer's instructions. Allow at least 6 minutes to dry.

8. Cut the urethane adhesive applicator tip to specification.







9. NOTE: Use either a high-ratio, electric or battery-operated caulk gun that will apply the urethane with less effort and continuous bead.

Apply urethane adhesive on top of the existing trimmed urethane adhesive bead on the pinch weld. Make sure that all gaps in the urethane adhesive are smoothed into one continuous bead starting and ending at the bottom of the rear quarter window glass opening near the center.







10. NOTE: Before the urethane has set, partially lower the windows to prevent the glass from being pushed out of position when a door is closed.

Install the rear quarter window glass on the vehicle aligning it with the markings made previously.

11. WARNING: Do not drive vehicle until the urethane seal has cured. Follow urethane manufacturer's curing directions. Inadequate or incorrect curing of the urethane seal will adversely affect glass retention. Failure to follow these instructions may result in serious injury to vehicle occupant(s).

After the urethane has cured, check the rear quarter window glass seal for air or water leaks through the urethane adhesive bead and add urethane adhesive as necessary.

12. Install the C-pillar, D-pillar and rear quarter trim panels.