Curiosii for ever!: Car repair manuals for everyone.

Traction Control Switch: Service and Repair

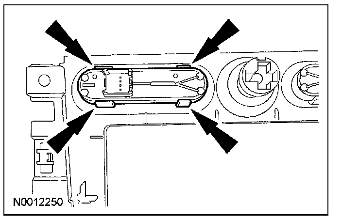
Traction Control Switch

Removal and Installation
1. Remove the instrument panel center finish panel. For additional information, refer to Dash Board.
2. Press the retaining tabs and remove the switchblock.





3. To install, reverse the removal procedure.