Curiosii for ever!: Car repair manuals for everyone.

Main Control

Main Control

Material:








Removal

Main control
1. Remove the transmission fluid pan.
2. Disconnect the transmission fluid temperature (TFT) sensor electrical connector.





3. Remove the transmission fluid filter.





4. NOTE: It is necessary to note the location of the main control wire harness connectors so they can be connected in the same positions. Connector color letters are cast into the solenoid body.

Remove the ground wire bolt. Disconnect the electrical connectors and remove the main control wiring harness.
1 Solenoid SSA, color (BU/GN).
2 Solenoid SSB, color (BK/GN).
3 Solenoid SSC, color (BU/BN).
4 Solenoid PCA, color (BU/BN).
5 Solenoid SSD, color (WH).
6 Solenoid SSE, color (RD).





5. CAUTION: Note the 2 accumulators and springs may fall out of the case during the main control valve body removal.

NOTE: Note the locations of the 2 long bolts.

Remove the 14 main control valve body bolts and remove the main control valve body and solenoids as an assembly.





6. NOTE: Each accumulator is equipped with 2 springs. All 4 springs are different sizes.

NOTE: Note the size and location of the accumulator springs to aid assembly.

NOTE: Note the shape of each piston and the piston bore from which the piston was removed. The shape and size will vary depending on application. The piston must be installed in its correct bore during assembly.

Remove the accumulator pistons and springs.

Shift solenoids A, B, C, D, E and pressure control solenoid A (PCA)
7. Remove the 4 shift solenoid bracket bolts and remove the bracket. Remove the affected solenoid.





8. Remove the bolts and remove affected solenoid.





Shift solenoid F and pressure control solenoid B (PCB)
9. Remove the battery tray.
10. Remove the 1 I side cover bolts and remove the cover.
^ Using a suitable tool, separate the bead of sealer.





11. Clean the silicone from the side cover and transaxle case surfaces thoroughly with metal surface cleaner.
12. Disconnect the electrical connectors.
1 Disconnect the electrical connector for the pressure control solenoid B.
2 Disconnect the electrical connector for the shift solenoid F.





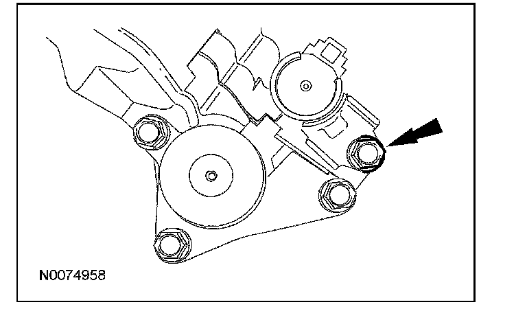
13. Remove the bolt and the ground wire.





14. Remove the 2 bolts and the solenoid body assembly.





15. Remove the bolts, bracket and the pressure control solenoid B.





16. Remove the bolt and the shift solenoid E





17. Inspect the O-ring seals for damage, install new O-rings as required.





18. Inspect the guide pins for damage, install new guide pins as required.





Installation

Shift solenoid F and PCB
1. Prior to installing the solenoid body make sure that the guide pins are in place.





2. Prior to installing the solenoid body make sure that the O-ring seals are in place.





3. Install the shift solenoid F and install the bolt.
^ Tighten to 9 Nm (80 lb-in).





4. Install the pressure control solenoid B, bracket and bolts.
^ Tighten to 9 Nm (80 lb-in).





5. Install the solenoid body assembly and the 2 bolts.
^ Tighten to 9 Nm (80 lb-in).





6. Install the ground wire and the bolt.
^ Tighten to 9 Nm (80 lb-in).





7. Connect the electrical connectors.
1 Connect the electrical connector for the pressure control solenoid B.
2 Connect the electrical connector for the shift solenoid F.





8. NOTE: Do not use more than the specified amount of sealer on the side cover pan or internal transaxle damage could occur.
^ Apply a bead 1-1/2 millimeters thick of sealer to the transaxle on the side cover sealing surface.

9. Install the side cover and install the 11 bolts.
^ Tighten to 7 Nm (62 lb-in).





10. Install the battery tray.

Shift solenoids A, B, C, D, E and PCA
11. Install the affected solenoid and the bolts.





^ Tighten to 9 Nm (80 lb-in).





12. Install the affected solenoid, the bracket and the 4 shift solenoid bracket bolts.





^ Tighten to 9 Nm (80 lb-in).





Main Control

13. NOTE: The thin longer springs are for the neutral and drive accumulator.

NOTE: Accumulator bore and pistons are matched by depth; some pistons may have steps. Install the pistons in the same bore as removed.

Install the accumulator pistons and springs.
1 Accumulator 1 and 2.
2 Accumulator N and D.





14. CAUTION: Make sure that the manual valve is in the manual control valve shift lever.

NOTE: Do not fully tighten the main control valve bolts at this stage.

Install the main control valve body and loosely install the bolts.





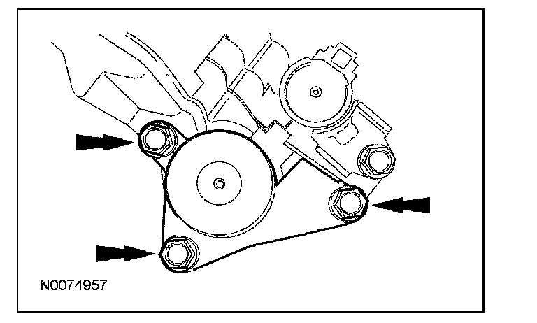
15. Tighten the main control valve body retaining bolts.
^ Tighten the bolts in the sequence shown.
- Tighten to 9 Nm (80 lb-in).





16. NOTE: It is necessary to connect the electrical connectors in the same positions as noted in disassembly. Connector color letters are cast into the solenoid body.

Install the main control valve wiring harness, connect the electrical connectors and install the ground wire bolt.
1 Solenoid SSA, color (BU/GN).
2 Solenoid SSB, color (BK/GN).
3 Solenoid SSC, color (BU/BN).
4 Solenoid PCA, color (BU/BN).
5 Solenoid SSD, color (WH).
6 Solenoid SSE, color (RD).
^ Tighten to 10 Nm (89 lb-in).





17. Install the transmission fluid filter.





18. Connect the TFT sensor electrical connector.





19. Install the transmission fluid pan.