Curiosii for ever!: Car repair manuals for everyone.

Marker Lamp: Service and Repair

SIDE MARKER LAMP


All Vehicles:






Fusion, Milan:






MKZ:






Removal and Installation

All vehicles
1. With the vehicle in NEUTRAL, position it on a hoist.
2. Remove the screw and the fender splash shield access cover.

Fusion, Milan
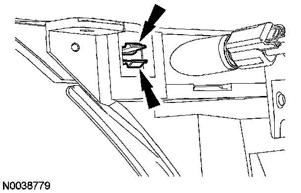
3. Release the tabs and remove the side marker lamp.
- Disconnect the electrical connector.







MKZ

4. NOTE: Rotate the bulb holder approximately one-eighth turn counterclockwise to remove.

Disconnect the electrical connector and remove the marker lamp from the headlamp assembly.

All vehicles
5. To install, reverse the removal procedure.