Electronic Brake Control Module: Service and Repair
Anti-Lock Brake System (ABS) ModuleRemoval and Installation
1. Remove the air cleaner. For additional information, refer to Fuel Delivery and Air Induction.
2. Disconnect the battery ground cable. For additional information, refer to Battery.
3. Disconnect the ABS module electrical connector.
4. Disconnect the hydraulic control unit (HCU) pump motor electrical connector.
5. NOTE: Care must be taken when removing the module from the HCU.
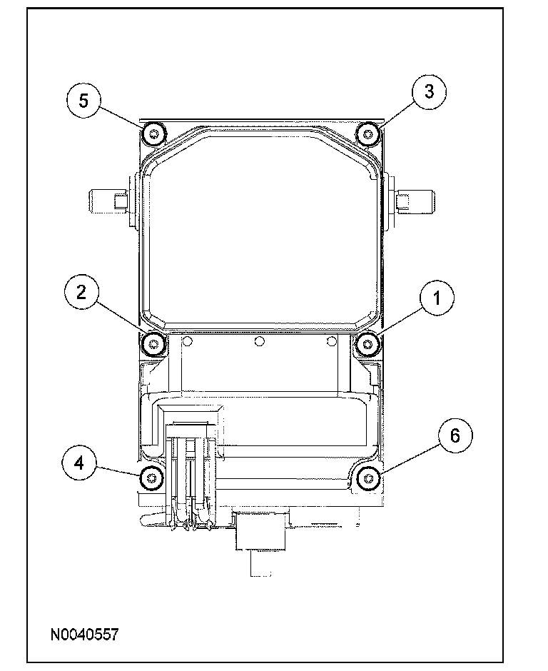
Remove the ABS module.
^ Remove the screws in the sequence shown.
^ To install, tighten to 3 Nm (27 inch lbs.).
6. NOTE: Make sure that the ABS module-to-HCU gasket surfaces are clean and that the gasket is correctly installed.
To install, reverse the removal procedure.