Curiosii for ever!: Car repair manuals for everyone.

Valve Guide

Valve Guide Inner Diameter

1. NOTE: Valve guides tend to wear in an hourglass pattern. The ball gauge can be inserted into the combustion chamber side of the valve guide if necessary.

Use a ball gauge to determine the inner diameter of the valve guides in 2 directions at the top, middle and bottom of the valve guide.





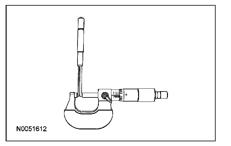
2. Measure the ball gauge with a micrometer.





3. If the valve guide is not within specifications, ream the valve guide and install a valve with an oversize stem or remove the valve guide and install a new valve guide.

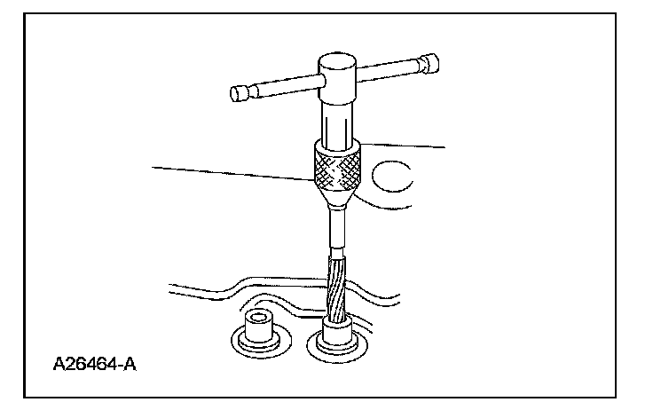
Valve Guide Reaming
1. Use a hand-reaming kit to ream the valve guide.





2. Reface the valve seat.
3. Clean the sharp edges left by reaming.