Curiosii for ever!: Car repair manuals for everyone.

Frame: Service and Repair




Frame Members













Front Frame Rail

WARNING: Frame rail crush zones absorb crash energy during a collision and must be replaced if damaged. Straighten damaged frame rails to correct frame dimensions prior to frame member sectioning. Failure to follow these instructions may adversely affect frame rail performance and may result in serious personal injury to vehicle occupant(s).

NOTE: Right side shown, left side similar.

NOTE: Cut line shown in illustration is approximate, refer to the following procedure for specific cut locations.











WARNING: Never install used or reconditioned parts (as specified below) from pre-owned, salvaged or damaged vehicles. The use of such parts could lead to serious injury.

Never use non-Ford parts or accessories for completing repairs.

Ford Motor Company does not approve or recognize body and structural repair procedures, tools, parts or anything but new genuine Ford equipment. Ford cannot attest to the safety, quality, durability or legality of non-Ford parts or accessories. Use of such parts could lead to serious personal injury as they may contain damage which is not visible.

Ford does not approve use of the following:
- Salvaged or used parts
- Major body clips or assemblies from salvage vehicles
- Aftermarket structural or body components
- Salvaged or reconditioned wheels
- Used supplemental restraint system (SRS) components
- air bags
- restraint system modules
- safety belts, buckles or retractors
- crash sensors

Returning a vehicle to pre-accident condition can only be assured if repair procedures are carried out by skilled technicians using new genuine Ford parts and Ford-approved methods. Structural component repair procedures approved by Ford, using genuine Ford parts, have been validated by Ford Motor Company engineers.

Ford Motor Company does not endorse, cannot attest to, and makes no representations regarding structural repairs (frames, rails, aprons and body panels) carried out using non-genuine Ford Motor Company parts or non-Ford-approved methods. In particular, Ford makes no representations that the vehicle will meet any crash safety or anti-corrosion performance requirement. Such parts and methods have not been tested by Ford, and may not meet Ford's requirements for safety, performance, strength, quality, durability and corrosion protection.

Ford Motor Company bears no responsibility or liability of any kind if repairs are performed using alternative structural component repair procedures and/or parts.


WARNING: Invisible ultraviolet and infrared rays emitted in welding can injure unprotected eyes and skin. Always use protection such as a welder's helmet with dark-colored filter lenses of the correct density. Electric welding will produce intense radiation, therefore, filter plate lenses of the deepest shade providing adequate visibility are recommended. It is strongly recommended that persons working in the weld area wear flash safety goggles. Also wear protective clothing. Failure to follow these instructions may result in serious personal injury.

WARNING: Always wear protective equipment including eye protection with side shields, and a dust mask when sanding or grinding. Failure to follow these instructions may result in serious personal injury.

NOTICE: This sectioning procedure is only recommended when collision damage does not extend into the front shock tower area. For more severe collision damage, repairs must be made at the original factory seam and joint locations. Failure to follow these instructions may compromise the structural integrity of the vehicle.

NOTE: The following repair procedure illustrates the sectioning of the front side member and fender reinforcement components. In situations where collision damage is less severe, the sectioning procedure to repair only those damaged components may be determined from these procedures.

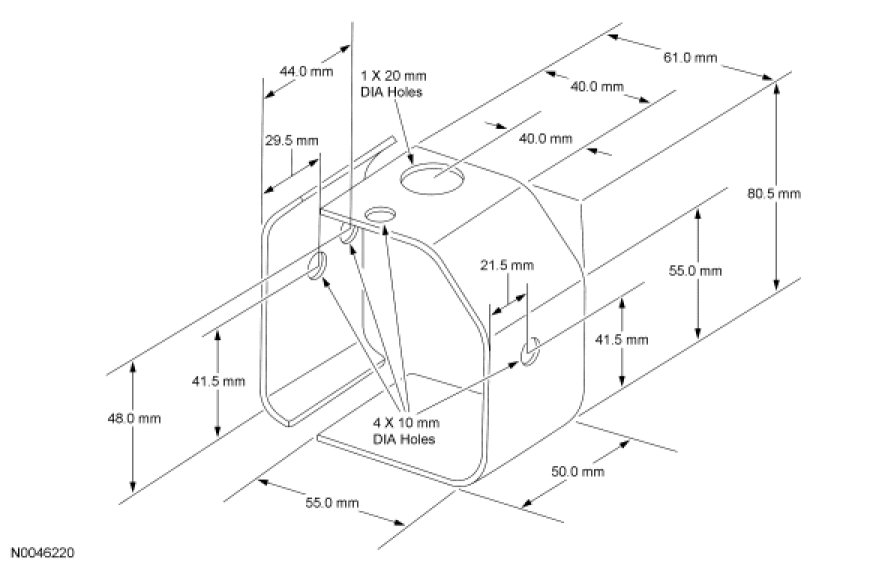
1. Position the vehicle on a frame repair rack following the manufacturer's recommendations. Measure the vehicle to determine if the body requires straightening and alignment. For additional information, refer to Body for dimensional information.
- Remove the front bumper.

2. Remove the engine.

3. Remove the suspension components.

4. NOTICE: The frame rail sectioning instruction kit provides the specific service procedure instructions for replacement of the frame rail sectioning kit. It is mandatory that the replacement section be installed per the installation guidelines. The frame rail service component must be located to maintain the original factory dimensions. For additional information, refer to Body for correct underbody dimensional information.
Remove the radiator support assembly.

5. Cut off the front apron from the main part of the apron, 80.5 mm (3.16 in) forward of the 14 mm (0.55 in) x 20 mm (0.78 in) slot, and remove the remainder of the apron.





6. NOTE: Factory spot welds may be substituted with either resistance spot welds or Metal Inert Gas (MIG) plug welds. Spot/plug welds should equal factory welds in both location and quantity. Do not place a new spot weld directly over an original weld location. Plug weld hole should equal 8 mm (0.31 in) diameter.

NOTE: Refer to welding equipment manufacturer's instructions for correct machine set up.

Drill out the spot welds in the front fender apron reinforcement.

7. Drill out the spot welds attaching the shock tower to the apron panel, and the apron to the lower rail.
- Dress all spot weld surfaces.

8. Chamfer inner and outer side member cutline surfaces to improve butt weld surfaces.

9. Measure 12.5 mm (0.49 in) rearward from the lower rail cutline. Drill seven 8 mm (0.31 in) holes in the insert overlap area flange.





10. Transcribe the inner front side member cutline to the new lower side member, cut to length and chamfer the butt end to improve the weld surface.

11. Construct an insert from the unused inner side member material.





12. Measure 12.5 mm (0.49 in) forward from the lower rail cutline. Drill nine 8 mm (0.31 in) holes in the new lower side member for attachment of the insert.





13. Apply corrosion protection to the repair areas on the vehicle and service parts.

14. Position the insert to the new lower side member, clamp and check fit and alignment. MIG plug weld 9 holes.





15. Measure underbody to verify correct dimensions. For additional information, refer to Body for dimensional information.

16. Position the new radiator support assembly, apron panel, rail assembly, front fender lower reinforcement and front fender upper reinforcement.
- MIG plug weld all holes.





17. Fusion weld the front fender upper and lower reinforcements to the front fender apron, front fender apron to the radiator support and the seam between the old and the new side members.
- Dress all welds.

18. Install the engine.

19. Install the suspension components.