Curiosii for ever!
: Car repair manuals for everyone.
Home
>>
Ford
>>
2007
>>
Mustang V8-4.6L VIN H
>>
Repair and Diagnosis
>>
Specifications
>>
Mechanical Specifications
>>
Engine
>>
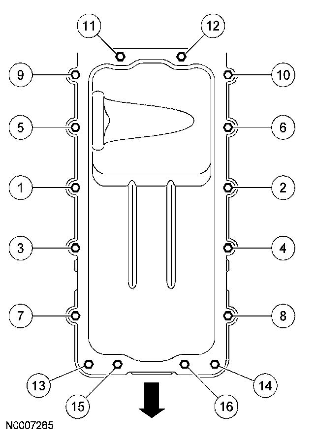
Oil Pan, Engine
Oil Pan, Engine
Oil pan
bolts
Stage 1:
2 Nm (18 inch lbs.)
Stage 2:
20 Nm (15 ft. lbs.)
Stage 3:
additional 60 degrees