Curiosii for ever!: Car repair manuals for everyone.

Transmission Speed Sensor: Service and Repair

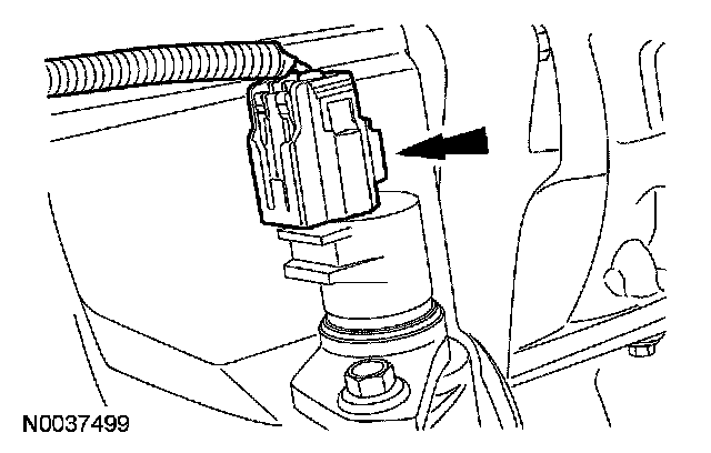
Vehicle Speed Sensor (VSS)

Material:








Removal and Installation
1. With the vehicle in NEUTRAL, position it on a hoist.
2. Remove the vehicle speed sensor (VSS) bolt.
- To install, tighten to 9 Nm (80 inch lbs.).
3. Disconnect the VSS electrical connector.





4. Remove the VSS.
- Discard the O-ring.
5. To install, reverse the removal procedure.
- Apply clean transaxle fluid to a new O-ring and install it on the VSS.