Procedures
Transaxle Draining and FillingMaterial:
1. With the vehicle in NEUTRAL, position it on a hoist. For additional information, refer to Maintenance/Service and Repair.
2. Remove the drain plug and drain the transaxle.
3. Clean and install the drain plug.
^ Tighten to 45 Nm (33 ft. lbs.).
4. NOTE: Before removing, clean the area around the filler plug.
Remove the fill plug.
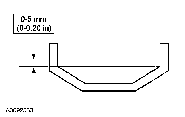
5. Using a suitable oil suction gun, fill the transaxle to the correct level with the specified fluid. Transaxle fluid level: 0-5 mm below the lower edge of the filler plug bore.
6. Install the fill plug.
^ Tighten to 45 Nm (33 ft. lbs.).
7. Lower the vehicle.