Curiosii for ever!: Car repair manuals for everyone.

Output Shaft

Output Shaft

Special Tool(s):




Material:




Output Shaft (Part 1):




Output Shaft (Part 2):





Disassembly

CAUTION: The inner synchronizer ring and the synchronizer cone must be handled very carefully.

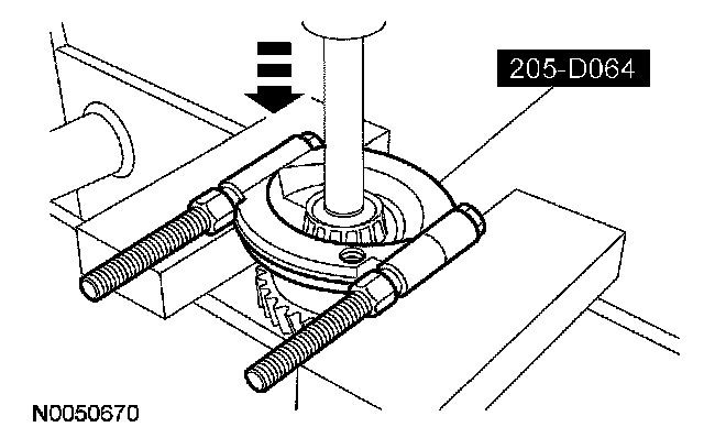
1. CAUTION: Only loosely attach the special tool to avoid damaging the synchronizer ring.

Using a press and the special tool, remove the output shaft bearing and the reverse gear. Discard the output shaft bearing.





2. Remove the reverse gear needle bearing and the synchronizer ring.





3. Remove the 5th/reverse gear synchronizer assembly.
^ Remove and discard the snap ring, and remove the synchronizer assembly.





4. Remove the synchronizer ring, 5th gear and 5th gear needle bearing.





5. NOTE: Position the special tool with the flat side upward.

Using the special tool, remove and discard the snap ring, then remove the 4th gear.





6. NOTE: Position the special tool with the flat side upward.

Using the special tool, remove the 2nd and the 3rd gear.





7. CAUTION: Be extremely careful when handling the inner synchronizer ring and synchronizer cone.

Remove the following:
1. The outer synchronizer ring.
2. The synchronizer cone.
3. The inner synchronizer ring.
4. Second gear.
5. Second gear needle bearing.





8. Remove and discard the snap ring, then remove the 1st/2nd gear synchronizer hub assembly.





9. CAUTION: Be extremely careful when handling the inner synchronizer ring and synchronizer cone.

Remove the following:
1. The outer synchronizer ring.
2. The inner synchronizer ring.
3. The synchronizer cone.
4. First gear.
5. First gear needle bearing.





10. Using the special tool, remove the clutch housing roller bearing.





11. NOTE: Mark the installed position of the selector ring.

Disassemble the 1st/2nd and 5th/reverse synchronizer hub assemblies. Remove the selector ring from the synchronizer hub.
Remove the compression springs, the keys and the detent balls.
^ Take care when pulling the selector ring from the synchronizer hub. The detent balls are spring-loaded.





12. Inspect the synchronizer assemblies.
^ Check for worn, nicked or broken teeth. Install a new synchronizer as necessary.
^ Check keys for wear or distortion. Install a new synchronizer as necessary.
^ Check springs for distortion. Install a new synchronizer as necessary.

Assembly
1. NOTE: Do not lubricate new roller bearings.

Lubricate all transmission components with transmission fluid during reassembly.

2. CAUTION: Handle the inner synchronizer ring and synchronizer cone very carefully.

Install the following:
1. The 1st gear needle bearing.
2. First gear.
3. The inner synchronizer ring.
4. The synchronizer cone.
5. The outer synchronizer ring.





3. NOTE: Observe the markings on the selector ring.

NOTE: Place a rubber band around the synchronizer body. Install the springs, the synchronizer bars and detent balls. Slide the synchronizer sleeve over the synchronizer body, while moving the rubber band downward.

Assemble the synchronizer hub assembly.
1. Install the compression springs.
2. Install the keys and the detent balls in the gear synchronizer hub against the force of the spring.
3. Align the selector ring with the hub and push it on.





4. NOTE: Install the synchronizer hub assembly with the larger collar facing toward 2nd gear.

Install the 1st/2nd gear synchronizer hub assembly, then install a new snap ring.





5. Install the following:
1. The 2nd gear needle bearing.
2. The outer synchronizer ring.
3. The synchronizer cone.
4. The inner synchronizer ring.
5. Second gear.





6. Using a press and the special tool, install 3rd gear.





7. Using a press and the special tool, install 4th gear. Install a new snap ring.





8. Install the 5th gear needle bearing, 5th gear and the synchronizer ring.





9. NOTE: Install the synchronizer hub assembly with the small collar and the ring groove facing outward.

Install the 5th/reverse gear synchronizer assembly. Install a new snap ring.





10. Install the synchronizer ring, the reverse gear needle bearing and the reverse gear.





11. Using a press, install a new output shaft bearing.
^ Press the bearing on the inner race only. Use a suitable step plate to install.





12. Using a press, install a new output shaft bearing.
^ Press the bearing on the inner race only. Use a suitable step plate to install.