Curiosii for ever!: Car repair manuals for everyone.

Brake Switch (Cruise Control): Service and Repair

SPEED CONTROL DEACTIVATOR SWITCH







Removal







1. NOTE: The stoplamps switch is shown removed for clarity.

Disconnect the electrical connector and remove the speed control deactivator switch.
- Rotate the speed control deactivator switch counterclockwise.

Installation







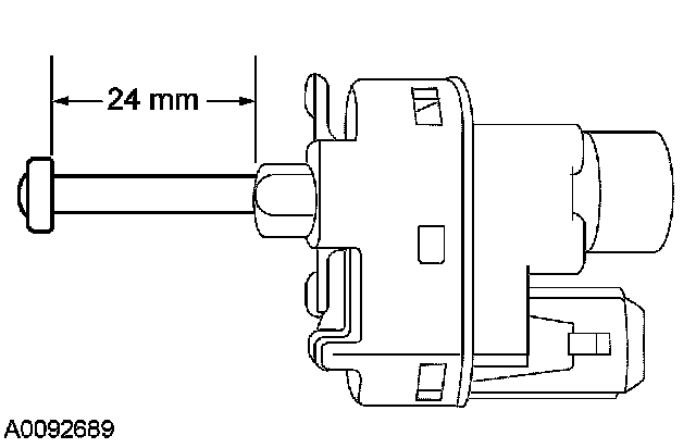
1. Pull out the speed control deactivator switch plunger until it is fully extended.
- Measure the plunger length. It should measure 24 mm (0.94 in).

2. Apply and hold the brake pedal.







3. CAUTION: When installing the speed control deactivator switch, rotate the switch clockwise. Failure to follow this instruction will result in the switch plunger binding inside the switch.

NOTE:
- The speed control deactivator switch is automatically adjusted during installation.
- A slight ratcheting noise and feel during installation of the speed control deactivator switch is normal.

Install the speed control deactivator switch by turning the switch clockwise.

4. Slowly release the brake pedal.







5. Connect the speed control deactivator switch electrical connector.