Curiosii for ever!: Car repair manuals for everyone.

Drilling Precautions




Drilling Precautions

WARNING:
- If equipped with fire suppression system, depower the system. For important safety warnings and procedures, refer to Fire Suppression System.
- The electrical power to the air suspension system must be turned off prior to hoisting, jacking or towing an air suspension vehicle. Failure to do so can result in unexpected inflation or deflation of the air springs, which can result in shifting of the vehicle during these operations.


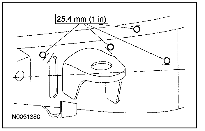
1. If a hole must be drilled in the frame, make sure the hole meets the following requirements:
- The hole is at least the specified distance from the edge of the nearest hole.
- The edge of the drilled hole is at least the specified distance from the edge of the flange.
- The hole is at least the specified distance above the frame centerline.
- The drilled hole is at least the specified distance from any other existing bracket or component of the frame.







2. WARNING: If equipped with fire suppression system, repower the system. For important safety warnings and procedures, refer to Fire Suppression System.

If equipped with fire suppression system, repower the system.