Curiosii for ever!: Car repair manuals for everyone.

Compressor Clutch: Service and Repair

CLUTCH AND CLUTCH FIELD COIL


Special Tool(s):






Special Tool(s)

Removal
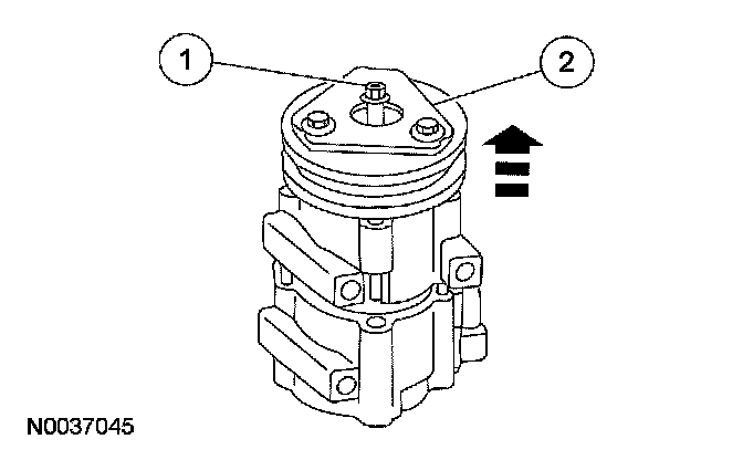
1. Remove the A/C compressor.







2. Remove the A/C clutch disc and hub retaining bolt.
1 Hold the A/C clutch disc and hub with the special tool.
2 Remove the bolt.







3. Remove the A/C clutch disc and hub.
1 Thread an 8 x 1.25 mm bolt into the A/C clutch disc and hub spacer to force it from the compressor shaft.
2 Lift the A/C clutch disc and hub and the A/C clutch disc and hub spacer from the compressor shaft.







4. Remove the pulley snap ring.







5. Remove the A/C clutch pulley.
1 Install the special tool.
2 Remove the A/C clutch pulley.







6. CAUTION: Do not use air tools. The A/C clutch field coil can be easily damaged.

Remove the A/C clutch field coil.
1 Install the special tool on the nose opening of the A/C compressor.
2 Install the special tool.
3 Remove the A/C clutch field coil.

Installation
1. If transferring the A/C clutch components to a new A/C compressor, inspect the A/C clutch disc and hub, A/C clutch pulley and A/C clutch field coil to verify that they are suitable for reuse.
2. Clean the A/C clutch field coil and the pulley bearing mounting surfaces.







3. CAUTION: Do not use air tools. The A/C clutch field coil can be easily damaged.

Install the A/C clutch field coil.
1 Place the A/C clutch field coil on the A/C compressor with the electrical connector correctly positioned.
2 Place the special tool on the A/C clutch field coil.
3 Place the special tool on the special tool.
4 Use the special tool to install the A/C clutch field coil until bottomed completely against the A/C compressor.







4. NOTE: The A/C clutch pulley is a tight fit on the A/C compressor head; it must be correctly aligned during installation.

Install the A/C clutch pulley.







5. Install the pulley snap ring with the bevel side out.







6. Place one nominal thickness A/C clutch disc and hub spacer inside the clutch disc and hub spline opening.







7. Install the A/C clutch disc and hub.







8. Install the A/C clutch disc and hub retaining bolt.
1 Hold the A/C clutch disc and hub with the special tool.
2 Tighten the bolt to 13 Nm (10 lb-ft).

9. Measure and adjust the clutch air gap.
10. Install the A/C compressor.