Curiosii for ever!: Car repair manuals for everyone.

Torque Specifications


















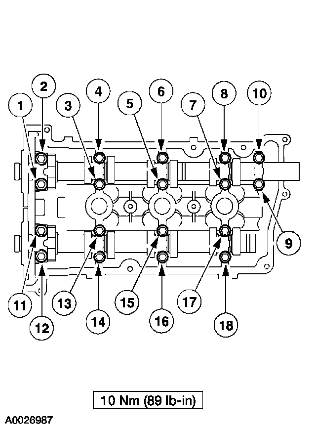
CAMSHAFT






LH Camshaft Cap Bolts 10 Nm (89 inch lbs.)






RH Camshaft Cap Bolts 10 Nm (89 inch lbs.)

INTAKE MANIFOLD






Lower Intake Manifold Bolts 10 Nm (89 inch lbs.)






Upper Intake Manifold Bolts 10 Nm (89 inch lbs.)

CONNECTING ROD CAPS
Tighten the bolts in two stages
- Stage 1: Tighten to 23 Nm (17 ft. lbs.).
- Stage 2: Tighten to 43 Nm (32 ft. lbs.).

OIL PUMP






Oil Pump Bolts 10 Nm (89 inch lbs.)

Exhaust Manifold

LH Exhaust Manifold:





RH Exhaust Manifold:






WATER PUMP
Water pump bolts
^ Tighten the bolts in two stages
^ Stage 1: Tighten to 10 Nm (89 inch lbs.)
^ Stage 2: Tighten 90 degrees