Curiosii for ever!: Car repair manuals for everyone.

Electronic Brake Control Module: Service and Repair

Anti-Lock Brake System (ABS) Module

Removal and Installation
1. Remove the air cleaner.
2. Disconnect the battery.





3. NOTE: Clean any foreign debris before removing the ABS module.

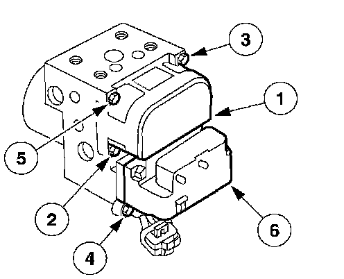
Disconnect the ABS module electrical connectors.
^ Disconnect the control module electrical connector.
^ Disconnect the pump motor electrical connector.





4. NOTE: Care must be taken when removing the module from the hydraulic control unit (HCU).

Remove the ABS module.
^ Remove the screws in the sequence shown.
^ Remove the module.
^ To install, tighten to 3 Nm (27 inch lbs.).

5. NOTE: Be sure the ABS module to HCU gasket is clean and correctly installed.

To install, reverse the removal procedure.