Curiosii for ever!: Car repair manuals for everyone.

System Specifications

Cylinder Block
Displacement 4.6L (2V) (281 CID)
Number of cylinders 8
Bore 90.2 mm (3.55 inch)
Stroke 90.0 mm (3.54 inch)
Firing order 1-3-7-2-6-5-4-8
Compression ratio 9.37:1 (+0.61/-0.46)
Cylinder bore diameter 31 mm (1.24 inch) from top of block
Red -90.200-90.210
Blue -90.210-90.220
Yellow -90.220-90.230
Cylinder bore maximum taper 0.70 mm (0.027559 inch)
Cylinder bore maximum out-of-round-limit 0.20 mm (0.007874 inch)
Cylinder bore maximum out-of-round-service limit 0.70 mm (0.027559 inch)
Main bearing bore inside diameter 72.400-72.424 mm (2.8504-2.8513 inch)

Crankshaft
Main bearing journal diameter 67.482-67.504 mm (2.66-21.661 inch)
Main bearing journal maximum taper 0.004 mm (0.0002 inch)
Main bearing journal maximum out-of-round 0.05 mm (0.002 inch)
Main bearing journal-to-cylinder block clearance-desired; 0.025-0.044 mm (0.001-0.002 inch)
Main bearing journal-to-cylinder block clearance-allowable; 0.025-0.050 mm (0.00098-0.00197 inch)
Connecting rod journal diameter 52.983-53.003 mm (2.085941-2.086728 inch)
Connecting rod journal maximum taper 0.004 mm (0.0002 inch)
Connecting rod journal maximum out-of-round 0.05 mm (0.002 inch)
Crankshaft maximum end play 0.075-0.377 mm (0.003-0.015 inch)

Crankshaft Main Bearing Cap bolts





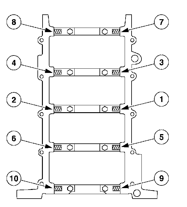
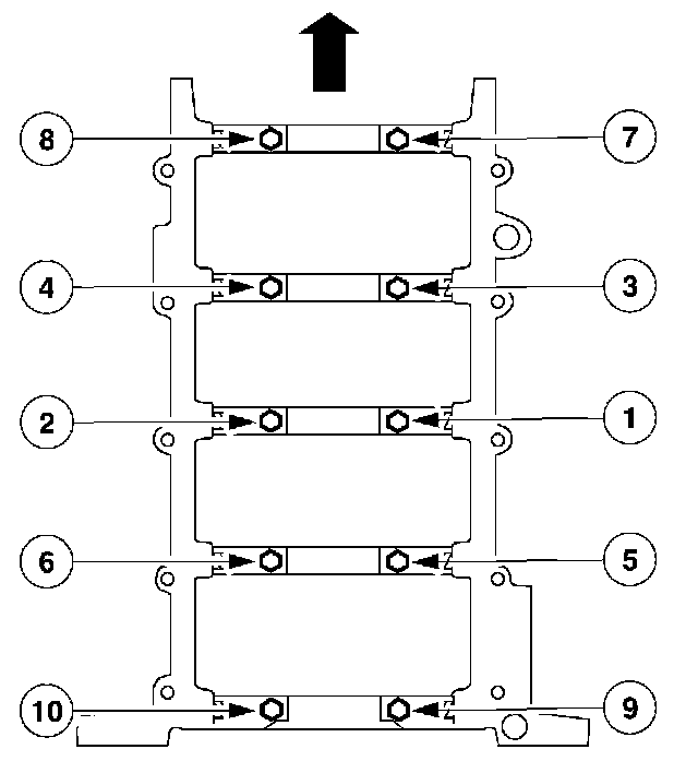
Install the vertical main bearing cap fasteners and tighten in the sequence shown.
Tighten to 40 Nm (30 ft. lbs.).
Tighten an additions 85-95 degrees.





Back out the jackscrews against the cylinder block in sequence shown.
Tighten to 5 Nm (44 inch lbs.).
Tighten to 10 Nm (89 inch lbs.).





Install the side bolts 21 Nm (15 ft.lbs.)
Check the crankshaft end play.

Crankshaft Pulley bolt
Stage 1: Tighten the bolt to 90 Nm (66 ft. lbs.).
Stage 2: Loosen the bolt one full turn.
Stage 3: Tighten the bolt to 50 Nm (37 ft. lbs.).
Stage 4: Tighten the bolt an additional 90 degrees

Piston and Connecting Rod
Piston diameter-code red 1 (d) 90.185-90.205 mm (3.55-3.551 inch)
Piston diameter-code blue 2 (d) 90.195-90.215 mm (3.55-3.551 inch)
Piston diameter-code yellow 3 (d) 90.205-90.225 mm (3.551-3.552 inch)
Piston-to-cylinder bore clearance -0.005-0.025 mm (-0.002/+0.001 inch)
Piston ring end gap-compression (top)e 0.130-0.280 mm (0.005-0.011 inch)
Piston ring end gap-compression (bottom)e 0.300-0.550 mm (0.0018-0.0022 inch)
Piston ring end gap-oil ring (steel rail)e 0.150-0.650 mm (0.006-0.0256 inch)
Piston ring groove width -compression (top) 1.530-1.550 mm (0.06-0.061 inch)
Piston ring groove width-compression (bottom) 1.520-1.540 mm (0.06-0.061 inch)
Piston ring groove width-oil ring 3.030-3.050 mm (0.12-0.12 inch)
Piston ring width-compression (top) 1.480-1.500 mm (0.058-0.059 inch)
Piston ring width-compression (bottom) 1.470-1.490 mm (0.0587-0.0586 inch)
Piston ring-to-groove clearance-compression (top) 0.050-0.090 mm (0.002-0.004 inch)
Piston ring-to-groove clearance-compression (bottom) 0.030-0.080 mm (0.00118-0.00315 inch)
Piston ring-to-groove clearance-oil ring Snug fit
Piston pin bore diameter' 21.008-22.014 mm (0.866-0.867 inch)
Piston pin diameter 22.0010-22.0030 mm (0.87-0.871 inch)
Piston pin length 61.601-62.030 mm (2.42523-2.44212 inch)
Piston pin-to-piston fit -0.005/+0.0135 mm (-0.0002/+0.0005 inch)
Piston-to-connecting rod clearance-standard 0.009-0.0235 mm (0.0004-0.00092 inch)
Piston-to-connecting rod clearance-service limit 0.035 mm (0.001378 inch)
Connecting rod-to-pin clearance 0.009-0.023 mm (0.0004-0.0009 inch)
Connecting rod pin bore diameter 22.012-22.024 mm (0.86661-0.86708 inch)
Connecting rod length (center-to-center) 150.7 mm (5.933 inch)
Connecting rod maximum allowed bend" 0.038 per 25 mm (0.00150 per 0.9843 inch)
Connecting rod maximum allowed twists 0.050 per 25 mm (0.00197 per 0.9843 inch)
Connecting rod bearing bore diameter 56.866-56.886 mm (2.23881-2.23960 inch)
Connecting rod bearing-to-crankshaft clearance 0.027-0.069 mm (0.0010629-0.0027165 inch)
Connecting rod side clearance-standard 0.125-0.475 mm (0.005-0.019 inch)
Connecting rod side clearance-service limit max. 0.50 mm (0.01969 inch)

Connecting Rod bearing caps
Stage 1: Tighten to 25 Nm (18 ft. lbs.).
Stage 2: Tighten to 40 Nm (30 ft. lbs.).
Stage 3: Tighten an additional 90 degrees.
Rotate the crankshaft and install the remaining piston and connecting rod assemblies.
Check the connecting rod bearing clearance.

b Distance front edge of bearing is installed below front face of cylinder block.
c Time necessary for plunger to leak down 1.6 mm of travel with 222 N force and leak down fluid in tappet.
d Measured at 31.5 mm from top of block. Measured at 43 mm from top of piston, at 90 degrees to the piston pin.
e Specification in 90.200 mm diameter gauge.
f If applicable, measured vertically, +0.030-0.050 mm (0.001-0.002 inch) measured horizontally (oval pin bore).
g Pin bore and crank bearing bore must be parallel and in same vertical plane within the specified total difference when measured at the ends of a 203 mm bar, 101.5 mm on each side of rod centerline.