Curiosii for ever!: Car repair manuals for everyone.

Main Control Valve Body Disassembly and Assembly

Part 1 Of 2:




Part 2 Of 2:





Main Control Valve Body-Disassembled View

Disassembly





1. Remove the Torque Converter Clutch (TCC) solenoid and the shift solenoid.
1 Remove the bolt.
2 Remove the shift solenoid.
3 Remove the TCC solenoid.





2. Remove the two reinforcement plates.
1 Remove the bolts.
2 Remove the plates.





3. Remove the separator plate and discard the gaskets.





4. NOTE: Note the location of the eight coasting booster valve shuttle balls for assembly.

Remove the eight coasting booster valve shuttle balls.





5. Remove the converter drain back valve and solenoid pressure supply screen.





6. Remove the main control valve body cover plate.
1 Remove the 13 bolts.
2 Remove the valve body cover plate and gasket.

Assembly





1. CAUTION: Before beginning assembly, carry out and inspect the following:

When building up subassemblies and assembling the transmission, ALWAYS use new gaskets and seals.

All fasteners must be tightened to the torque specification indicated.
When building up subassemblies, each component part should be lubricated with clean transmission fluid. It is also good practice to lubricate the subassemblies as they are installed in the case.

Needle bearings, thrust washers and seals should be lightly coated with petroleum jelly during subassembly buildup or transmission assembly.
Many components and surfaces in the transmission are precision machined. Careful handling during disassembly, cleaning, inspection and assembly can prevent unnecessary damage to machined surfaces.

Install the valve body cover plate.
1 Position the valve body cover plate gasket and cover plate.
2 Loosely install the two guide pin bolts.
3 Loosely install the bolts.





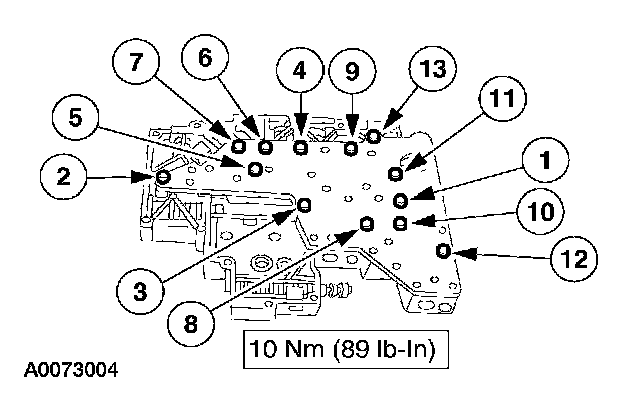
2. Tighten the bolts in the sequence shown.





3. Install the eight coasting booster valve shuttle balls.





4. Install the converter drain back valve and solenoid pressure supply screen.





5. Install the separator plate and gaskets.





6. Install the two reinforcement plates.
1 Position the plates.
2 Install the bolts.





7. NOTE: Inspect the shift solenoid O-rings and TCC solenoid O-rings for damage.

Install the shift solenoid.
1 Position the TCC solenoid.
2 Position the shift solenoid.
3 Install the bolt.