Curiosii for ever!: Car repair manuals for everyone.

Front Fender: Service and Repair

FENDER

Removal and Installation







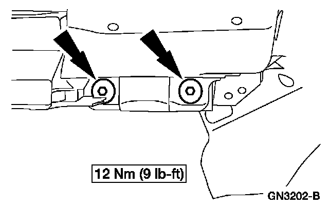
1. On the RH fender, remove the antenna base.
1. Remove the antenna base cap.
2. Remove the screws.
3. Remove the antenna base.
4. Disconnect the antenna cable from the antenna base.

2. Remove the front bumper cover.







3. Remove the screw, the two pin-type retainers and the front rocker panel moulding.







4. Remove the fender splash shield screw.







5. NOTE: Position the fender splash shield aside.

Remove the lower fender bolts and, if equipped, remove the shims.







6. Through the door opening, remove the inner fender bolts.







7. Remove the radiator grille opening panel to fender bolts.







8. Remove the upper bolts and the fender.

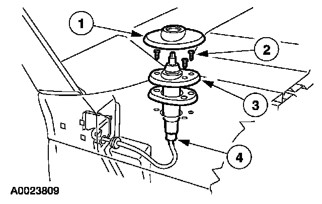
9. NOTE: On the RH fender, feed the antenna cable through the fender opening.

To install, reverse the removal procedure.
- Check the fender alignment and adjust as needed.