Liftgate Window Glass: Service and Repair
REAR WINDOW GLASS - 3-DOOR/5-DOOR/WAGON
SPECIAL TOOL(S)
Material
REMOVAL
WARNING: To prevent glass splinters from entering the eyes or cutting the hands, wear safety glasses and heavy gloves when cutting the glass from the vehicle.
All vehicles
1. Remove the screws and position the high-mounted stoplamp aside.
2. Disconnect the electrical connector and remove the high mounted stoplamp.
3. If equipped, remove the parcel shelf.
4. Remove the rear window wiper motor.
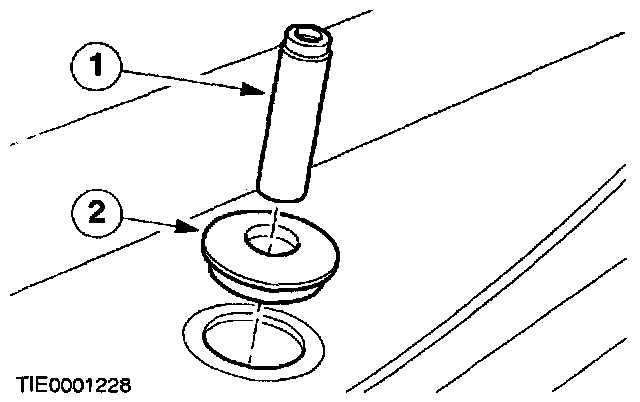
5. NOTE: 3-door shown; all others similar.
Remove the rear window wiper motor spindle grommet.
1 Remove the sleeve.
2 Remove the grommet.
3-Door, 5-Door
6. Remove the parcel shelf strap clips on both sides.
7. Remove the liftgate center trim panel.
8. Remove the liftgate side trim panels on both sides.
All vehicles
9. Disconnect the heated rear window glass electrical connectors.
3-Door, 5-Door
10. CAUTION: Make sure the cutting blades are changed where the cutting depth changes to avoid damage to the body and trim panels.
NOTE:
- Some resistance may be encountered when cutting through the glass locating pegs in the lower corners of the glass.
- Lubricate the urethane adhesive with water to aid the special tool when cutting the urethane adhesive.
Using the special tool, place the flat side of the knife against the rear glass. Start at the top center and work out and down the pillars to the lower corners cutting to the given maximum depths.
1 20 mm.
2 50 mm.
Wagon
11. CAUTION: Make sure the cutting blades are changed where the cutting depth changes to avoid damage to the body and trim panels.
NOTE:
- Some resistance may be encountered when cutting through the glass locating pegs in the lower corners of the glass.
- Lubricate the urethane adhesive with water to aid the special tool when cutting the urethane adhesive.
Using the special tool, place the flat side of the knife against the rear glass. Start at the top center and work out and down the pillars to the lower corners cutting to the given maximum depths.
1 25 mm.
2 65 mm.
3 80 mm.
All vehicles
12. Remove the rear window glass.
13. Using a soft brush or vacuum, remove any dirt or foreign material from the pinch weld.
INSTALLATION
CAUTION: When installing urethane installed glass parts, the vehicle must not be driven until the urethane adhesive has cured. At temperatures above 21 °C (70°F) and relative humidities above 50%, adequate cure time is typically 24 hours. (Refer to Essex drive away chart for the cure times as temperatures and humidity vary.) Inadequate or incorrect curing can adversely affect the retention of the rear window glass.
All vehicles
1. Remove the remaining part of the locating pegs from the rear window glass flange.
2. NOTE: Avoid scratching the pinch weld.
Trim the remaining urethane adhesive. The urethane adhesive must be smooth and free of cuts and contamination after trimming. Avoid touching the urethane adhesive after preparation.
3. Apply the urethane metal primer to any exposed or damaged metal on the pinch weld.
4. If installing the original rear window glass, remove the excess urethane adhesive.
5. Clean the rear window glass with a non-alcohol based window cleaner.
6. CAUTION: Wipe off the urethane glass prep immediately after each application because it flash dries.
If installing a new rear window glass, apply urethane glass prep twice to the area to be urethaned.
7. If installing a new rear window glass, apply urethane glass primer to the same area that was prepped in the previous step. Allow five minutes to dry.
8. Cut urethane adhesive applicator tip to specification.
9. Apply a bead of urethane adhesive on top of the existing urethane bead on the pinch weld. Make sure that all gaps in the urethane adhesive are smoothed into one continuous bead.
10. Install the rear window glass on the pinch weld.
11. Inspect the rear window glass for air or water leaks through the urethane adhesive seal.
12. Connect the heated rear window glass electrical connectors.
3-Door, 5-Door
13. Install the liftgate side trim panels on both sides.
14. Install the liftgate center trim panel.
15. If equipped, install the parcel shelf strap clips on both sides.
All vehicles
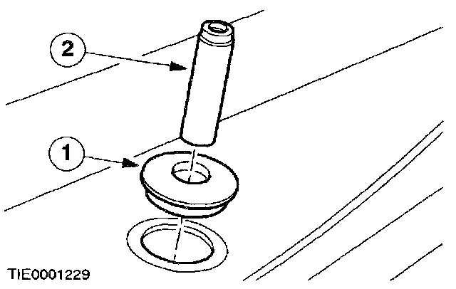
16. Install the rear window wiper motor spindle grommet.
1 Install the grommet.
2 Install the sleeve.
17. Install the rear window wiper motor.
18. If equipped, install the parcel shelf.
19. Connect the high-mounted stoplamp electrical connector.
20. Install the high-mounted stoplamp.