Curiosii for ever!: Car repair manuals for everyone.

Steering Angle Sensor: Service and Repair

Steering Wheel Rotation Sensor

Removal
1. Remove the steering column.





2. Remove the two multifunction switches.
1 Depress the retaining tangs.
2 Lift the switches upwards.





3. Detach the driver air bag module.





4. Remove the driver air bag module.
^ Release the three clips.
^ Disconnect the module electrical connector.





5. Remove the steering wheel.
1 Disconnect the speed control electrical connector (if equipped).
2 Remove the steering wheel retaining bolt.





6. Remove the tolerance ring.





7. NOTE: Make sure the air bag sliding contact is not allowed to rotate. Secure in the central position with a piece of suitable tape.

Remove the air bag sliding contact.
^ Using a thin bladed screwdriver, release the two retaining clips.





8. Fully extend the steering column.
1 Release the locking lever.
2 Fully extend the steering column.





9. NOTE: The steering column two halves must be marked before separating.

Mark the two halves of the steering column.





10. Remove the Allen bolt.





11. Separate the steering column into two halves.





12. Remove the steering wheel rotation sensor clamp.
1 Remove the screws.
2 Using a thin bladed screwdriver, depress the locking tangs and remove the steering wheel rotation sensor clamp.





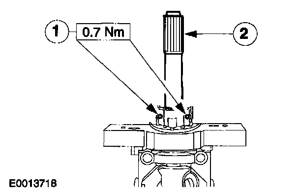
13. Remove the steering wheel rotation sensor retaining screws.





14. Remove the steering wheel rotation sensor.

Installation





1. WARNING: Do not install a new steering wheel rotation sensor, if the locking pin has been removed. Failure to follow this instruction may result in personal injury. Before fitting the steering wheel rotation sensor, make sure the rotor is in the correct position. Failure to follow this instruction may result in personal injury.

Check that the alignment indicator is in the correct position.





2. WARNING: Make sure the steering wheel rotation sensor retaining clamp screws are not over tightened. Failure to follow this instruction may result in personal injury.

Install the steering wheel rotation sensor.





3. WARNING: Make sure the steering wheel rotation sensor retaining clamp screws are not over tightened. Failure to follow this instruction may result in personal injury.

Install the steering wheel rotation sensor clamp.
1 Install the screws.
2 Apply grease to Ford specification, to the steering column splines.





4. NOTE: Make sure the steering column shafts are aligned correctly.

Connect the steering column two halves.





5. WARNING: Make sure the breakaway capsules are located in the holes in the bracket. Failure to follow this instruction may result in personal injury. Make sure the bolt is not over tightened. Failure to follow this instruction may result in personal injury.

Install the steering column bolt.
1 Align the breakaway capsules.
2 Tighten the steering column bolt.





6. WARNING: Make sure the steering wheel rotation sensor locking pin is removed. Failure to follow this instruction may result in personal injury.

Remove the locking pin.





7. WARNING: Make sure the air bag sliding contact is centralized before installing. Failure to follow this instruction may result in personal injury.

Centralize the air bag sliding contact.
1 Turn the air bag contact in a COUNTERCLOCKWISE direction until a resistance is felt (approximately 2.5 turns from the central position).
2 Turn the air bag sliding contact CLOCKWISE 2.5 turns until the arrow marked on the center of the sliding contact aligns with the raised "V" section at the 12 o'clock position on the outer cover of the sliding contact. The sliding contact is now centralized.





8. CAUTION: Make sure the spacing collar is correctly located. Do not assemble if the spacing collar is missing.

Install the air bag sliding contact.
^ Make sure both the retaining tangs lock into position on the steering column.





9. Install the steering wheel.





10. Install the driver air bag module.





11. Install the multifunction switches.
12. Install the steering column.