Curiosii for ever!: Car repair manuals for everyone.

Coolant Temperature Sensor/Switch (For Computer): Service and Repair

REMOVAL
1. Drain the engine cooling system.
2. Disconnect the battery ground cable.







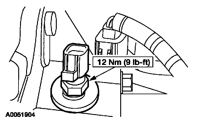
3. Disconnect the Engine Coolant Temperature (ECT) sensor electrical connector.







4. Remove the engine coolant temperature sensor.

INSTALLATION







1. To install, reverse the removal procedure.

NOTE: Coat the threads of the engine coolant temperature sensor with pipe sealant prior to installation.