Curiosii for ever!
: Car repair manuals for everyone.
Home
>>
Ford
>>
2001
>>
Focus L4-2.0L DOHC VIN 3
>>
Repair and Diagnosis
>>
Diagrams
>>
Connector Views
>>
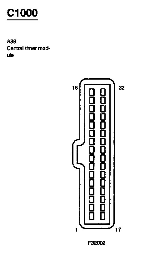
General Module
General Module