Curiosii for ever!: Car repair manuals for everyone.

Transmission Position Sensor/Switch: Service and Repair

Removal





1. Disconnect the battery ground cable.
2. Remove the air cleaner outlet tube.





3. Remove the (A) shift cable and bracket nut and the (B) control cable front clamp.





4. Remove the (A) manual control lever nut and the (B) manual control lever.





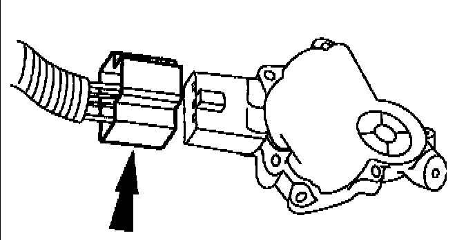
5. Disconnect the Transmission Range (TR) sensor electrical connector.





6. Remove the TR sensor bolts and remove the TR sensor.

Installation





1. Shift the transmission into neutral, then align the marks on the Transmission Range (TR) sensor and the manual control lever while installing and hand-tightening the two bolts.





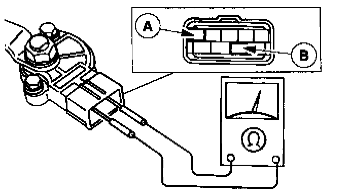
2. Connect an ohmmeter between (A) terminal A and (B) terminal H.





3. Adjust the TR sensor to the point where there is no continuity between the terminals by rotating the TR sensor housing on the manual control lever.





4. Tighten the TR sensor bolts while holding the switch in place.





5. Connect the TR sensor electrical connector.





6. Position the manual control lever into place and tighten the manual control lever nut to specification.





7. Install the shift cable and bracket and nut to specification. Refer to the shift cable adjustment procedure.
8. Install the air cleaner outlet tube.

9. Note: When the battery is disconnected and reconnected, some abnormal drive symptoms may occur while the vehicle relearns its adaptive strategy. The vehicle may need to be driven 16 km (10 mi) or more to relearn the strategy.





Connect the battery ground cable.