Curiosii for ever!: Car repair manuals for everyone.

Air Flow Meter/Sensor: Service and Repair

REMOVAL
1. Disconnect the battery ground cable.
2. Remove the air cleaner outlet tube and the engine Air Cleaner (ACL); refer to Fuel Delivery and Air Induction.







3. Slide the grommet out of the engine air cleaner.







4. Disconnect the electrical connector.







5. Use a suitable tool to remove the MAF sensor cover.







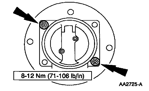
6. Remove the two nuts and remove the Mass Air Flow Sensor (MAF Sensor).

INSTALLATION







1. Follow the removal procedure in reverse order.