Curiosii for ever!: Car repair manuals for everyone.

Catalytic Converter: Service and Repair

Removal
1. Raise and support the vehicle.





2. Disconnect the oxygen sensor connectors.





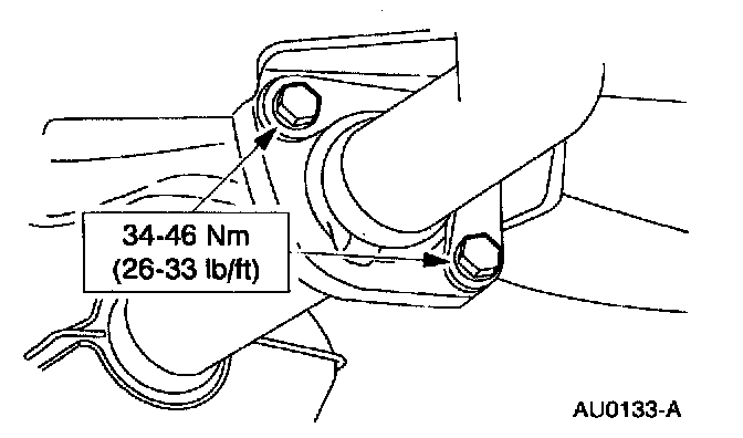
3. Remove the two nuts.





4. Remove the TWC.
- Remove the nuts, bolts, damper and gasket.
- Remove the TWC.

Installation





1. Position the Three Way Catalytic Converters (TWC) and install the two nuts.





2. Install a new gasket, bolts, nuts and damper.
3. Connect the heated oxygen sensor connectors.
4. Lower the vehicle.