Curiosii for ever!: Car repair manuals for everyone.

Module Communication Circuit Wiring Repair

Heat Gun - 500 Degree:






SPECIAL TOOL(S)







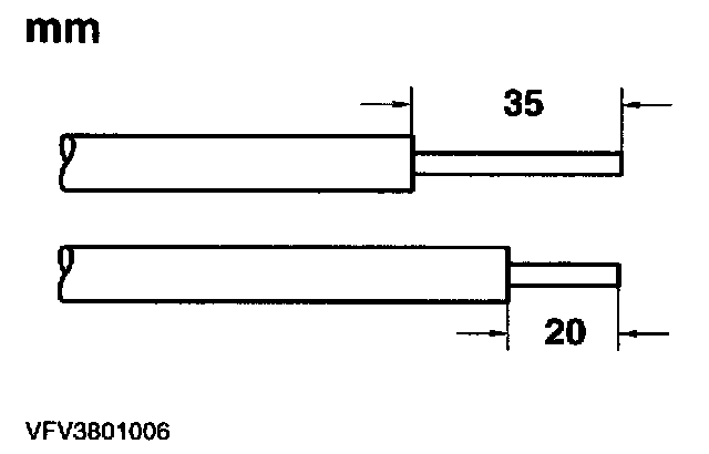
1. Remove the insulation from the wire ends.







2. Make the solder connection.
1 Slide the piece of heatshrink sleeving over one of the wire ends.
2 Twist the wire ends together.
3 Solder the wire ends.

NOTE: Use acid-free solder. Choose the length of the heatshrink sleeving so that it extends over the cable insulation by about 15 mm on both sides of the solder joint.







3. Bend over the longer bare wire end.

NOTE: Wait until the solder has cooled.







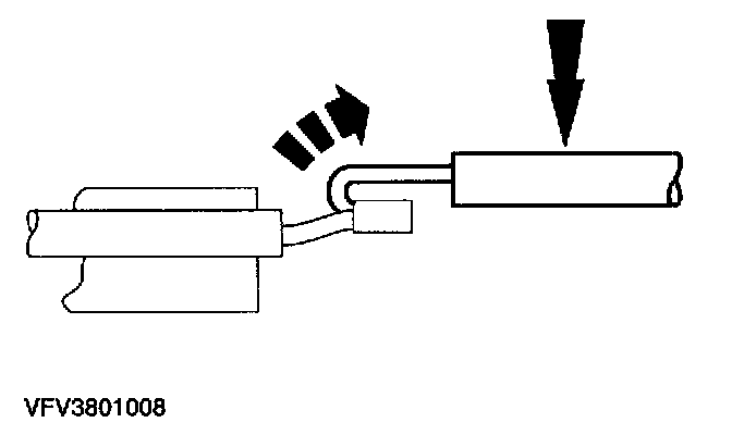
4. Slide the piece of heatshrink sleeving over the solder connection.







5. Heat the heatshrink sleeving with a hot air blower until the sleeving fits closely around the connection and wax is coming out at both ends.