Curiosii for ever!: Car repair manuals for everyone.

Ignition Switch: Service and Repair

Removal
1. Disconnect the battery ground cable.





2. Remove the lower instrument panel steering column cover.
1 Remove the screws.
2 Remove the lower instrument panel steering column cover.





3. Remove the instrument panel reinforcement.
1 Remove the screws.
2 Remove the instrument panel reinforcement.





4. Disconnect the ignition switch electrical connector.
1 Loosen the bolt.
2 Disconnect the ignition switch electrical connector.





5. NOTE: Ignition switch should be in the OFF position.

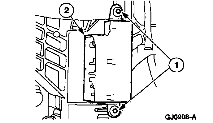
Remove the ignition switch.
1 Remove the screws.
2 Remove the ignition switch.


Installation











1. NOTE: When the battery is disconnected and reconnected, some abnormal drive symptoms may occur while the vehicle relearns its adaptive strategy. The vehicle may need to be driven 16 km (10 mi) or more to relearn the strategy.

To install, reverse the removal procedure.