Curiosii for ever!
: Car repair manuals for everyone.
Home
>>
Ford
>>
1998
>>
Escort ZX2 L4-2.0L DOHC VIN 3
>>
Repair and Diagnosis
>>
Diagrams
>>
Electrical Diagrams
>>
Powertrain Management
>>
Fuel Delivery and Air Induction
>>
Integrated Control Relay Module
>>
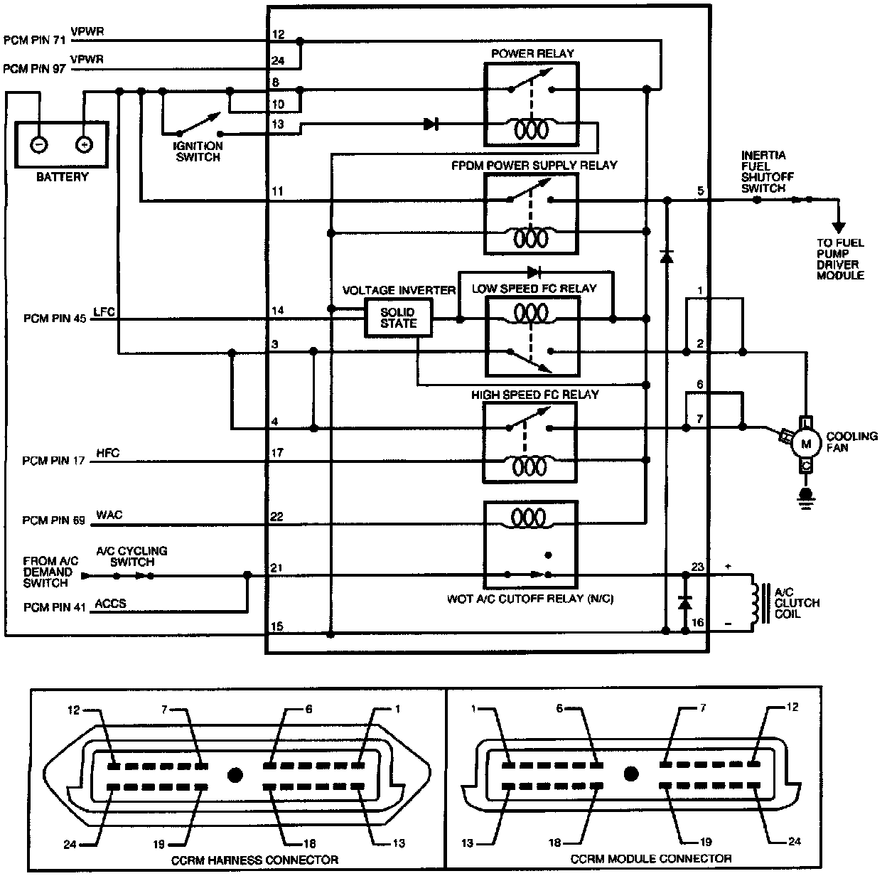
Constant Control Relay Module (CCRM) Internal Schematic
Constant Control Relay Module (CCRM) Internal Schematic