Curiosii for ever!
: Car repair manuals for everyone.
Home
>>
Ford
>>
1998
>>
Escort L4-122 2.0L SOHC
>>
Repair and Diagnosis
>>
Powertrain Management
>>
Computers and Control Systems
>>
Testing and Inspection
>>
Pinpoint Tests
>>
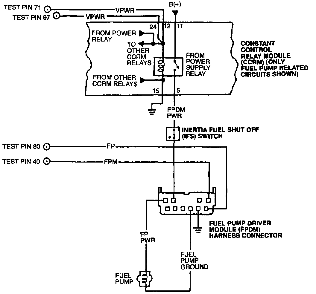
KB - Fuel Pump Driver Module (FPDM)
>>
Pinpoint Test Schematics
Pinpoint Test Schematics