Curiosii for ever!: Car repair manuals for everyone.

Exhaust Gas Recirculation System Monitor

PURPOSE
The Sonic EGR Monitor is an on-board strategy designed to test the integrity and flow characteristics of the EGR system.

OPERATION
The monitor is activated during EGR system operation and after certain base engine conditions are satisfied. Input from the Engine Coolant Temperature (ECT), Intake Air Temperature (IAT), Throttle Position (TP) and Crankshaft Position (CKP) sensors is required to activate the EGR Monitor. Once activated, the EGR Monitor will perform each of the tests described below during the engine modes and conditions indicated. With the exception of Diagnostic Trouble Code (DTC) P0400, the EGR Monitor tests are also performed during on demand self-test.

DTCs and MIL Operation






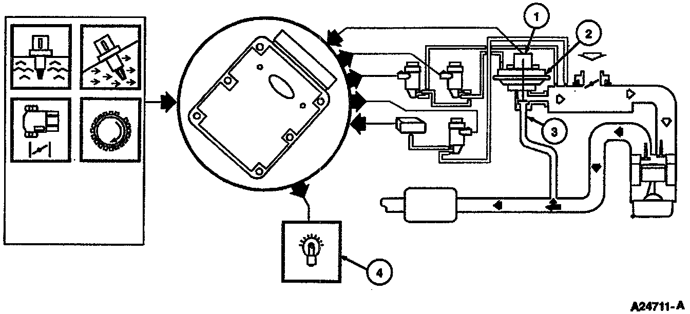
1 The EGR Position sensor and circuit are continuously monitored for opens and shorts during closed throttle, low RPM conditions. Faults are set when the EGR Position sensor voltage exceeds either of the minimum or maximum allowable limits.

The DTCs associated with this test are DTCs P1400 and P1401.

2 The stuck EGR valve continuously monitors the difference between desired and actual EGR valve position. If this difference remains high for an extended period of time, the test fails.

The DTCs associated with this test are DTCs P1407 and P1408.

3 Once per drive cycle during a steady state highway cruise condition, the difference between normal and minimum EGR flow is tested. The EGR monitor measures the difference in manifold pressure between EGR fully open and fully closed. EGR flow failure is detected when this manifold pressure difference falls outside of the calibrated minimum and maximum values.

The DTC associated with this test is DTC P0400.

4 The MIL is activated after one of the above tests fail on two consecutive drive cycles.