Curiosii for ever!
: Car repair manuals for everyone.
Home
>>
Ford
>>
1996
>>
Crown Victoria V8-4.6L VIN W
>>
Repair and Diagnosis
>>
Powertrain Management
>>
Computers and Control Systems
>>
Main Relay (Computer/Fuel System)
>>
Locations
Main Relay (Computer/Fuel System): Locations
Engine Compartment View:
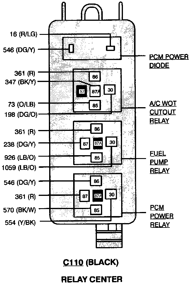
Relay Center:
The PCM Power Relay is located at the LH side of the engine compartment, in relay center.