Curiosii for ever!
: Car repair manuals for everyone.
Home
>>
Ford
>>
1996
>>
Aspire L4-81 1.3L SOHC
>>
Repair and Diagnosis
>>
Power and Ground Distribution
>>
Fuse Block
>>
Application and ID
>>
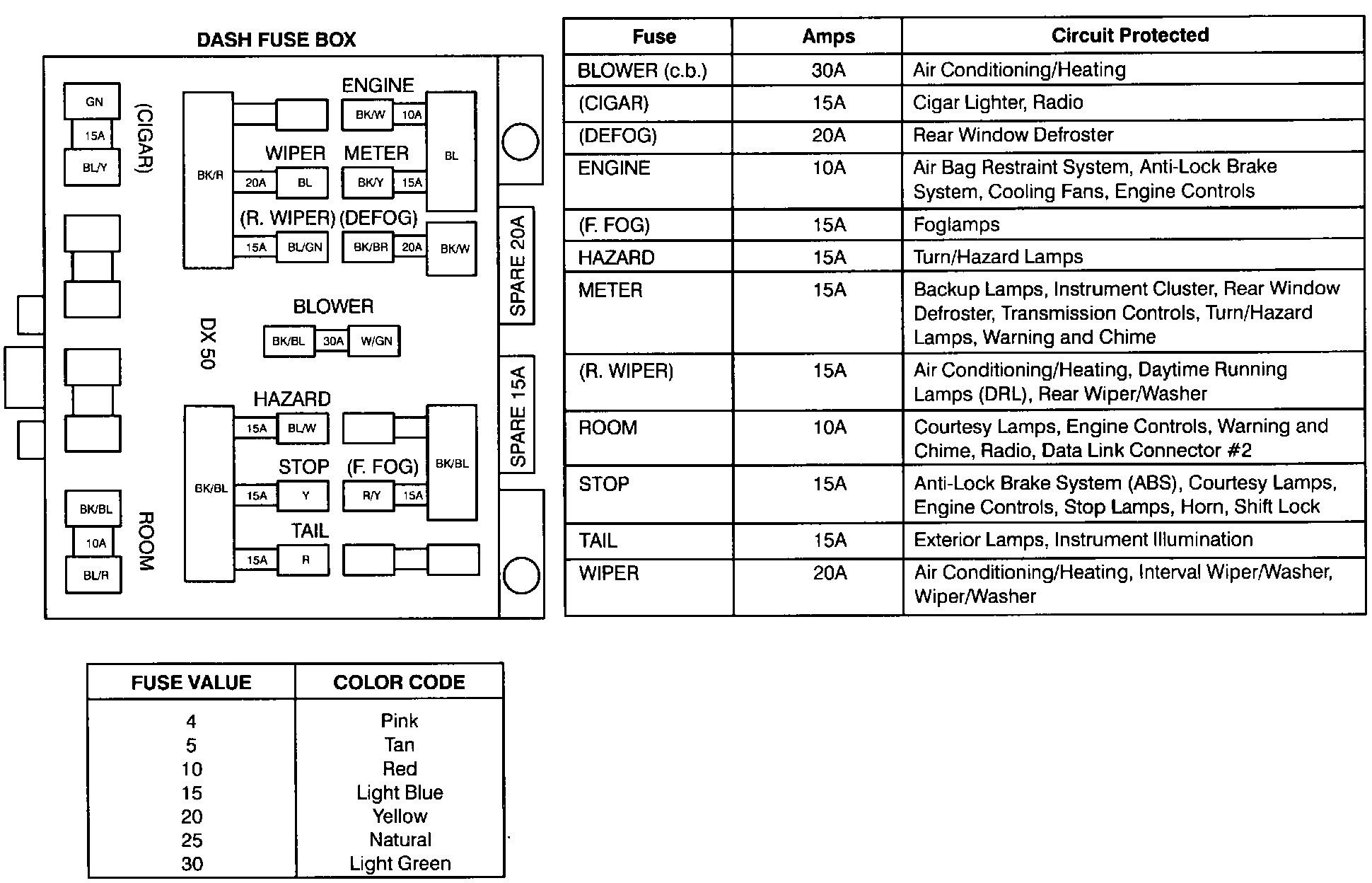
Dash Fuse Box
Dash Fuse Box
Dash Fuse Box: