Curiosii for ever!
: Car repair manuals for everyone.
Home
>>
Ford
>>
1994
>>
Mustang V8-302 5.0L HO
>>
Repair and Diagnosis
>>
Powertrain Management
>>
Computers and Control Systems
>>
Relays and Modules - Computers and Control Systems
>>
Integrated Control Relay Module
>>
Diagrams
>>
Electrical Diagrams
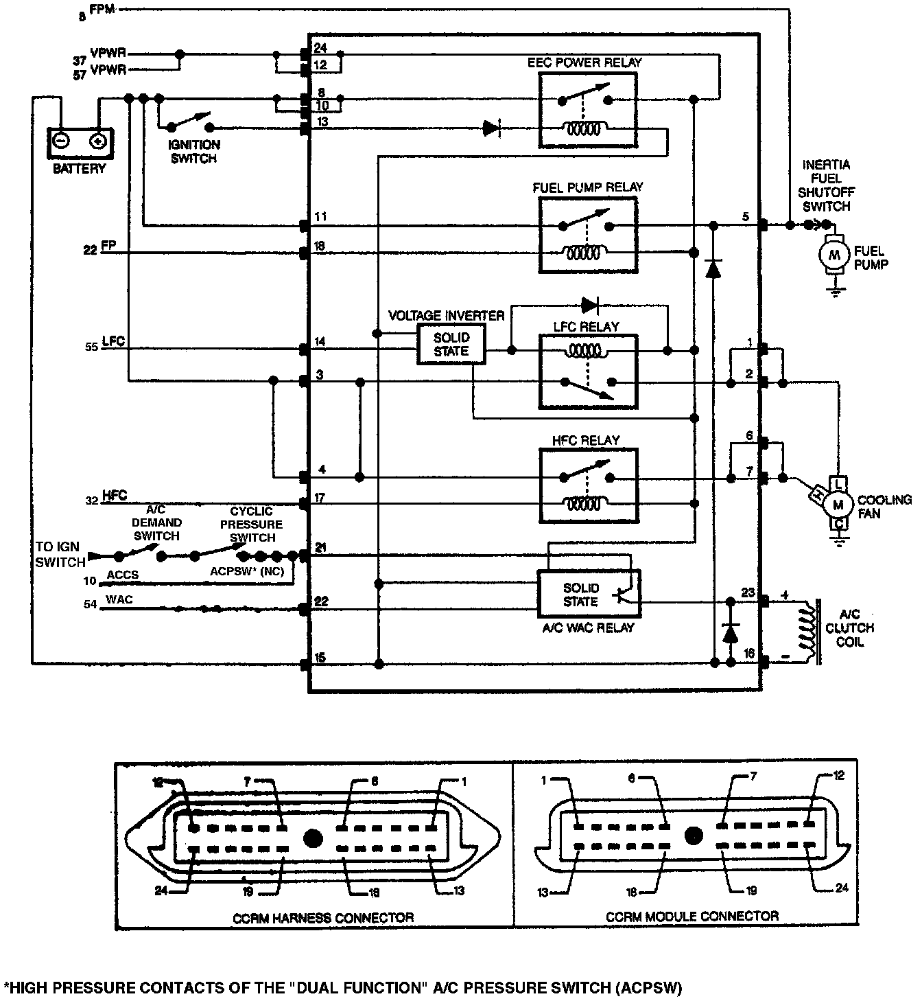
Electrical Diagrams
Constant Control Relay Module (CCRM) Pin Usage:
Constant Control Relay Module (CCRM):