Curiosii for ever!: Car repair manuals for everyone.

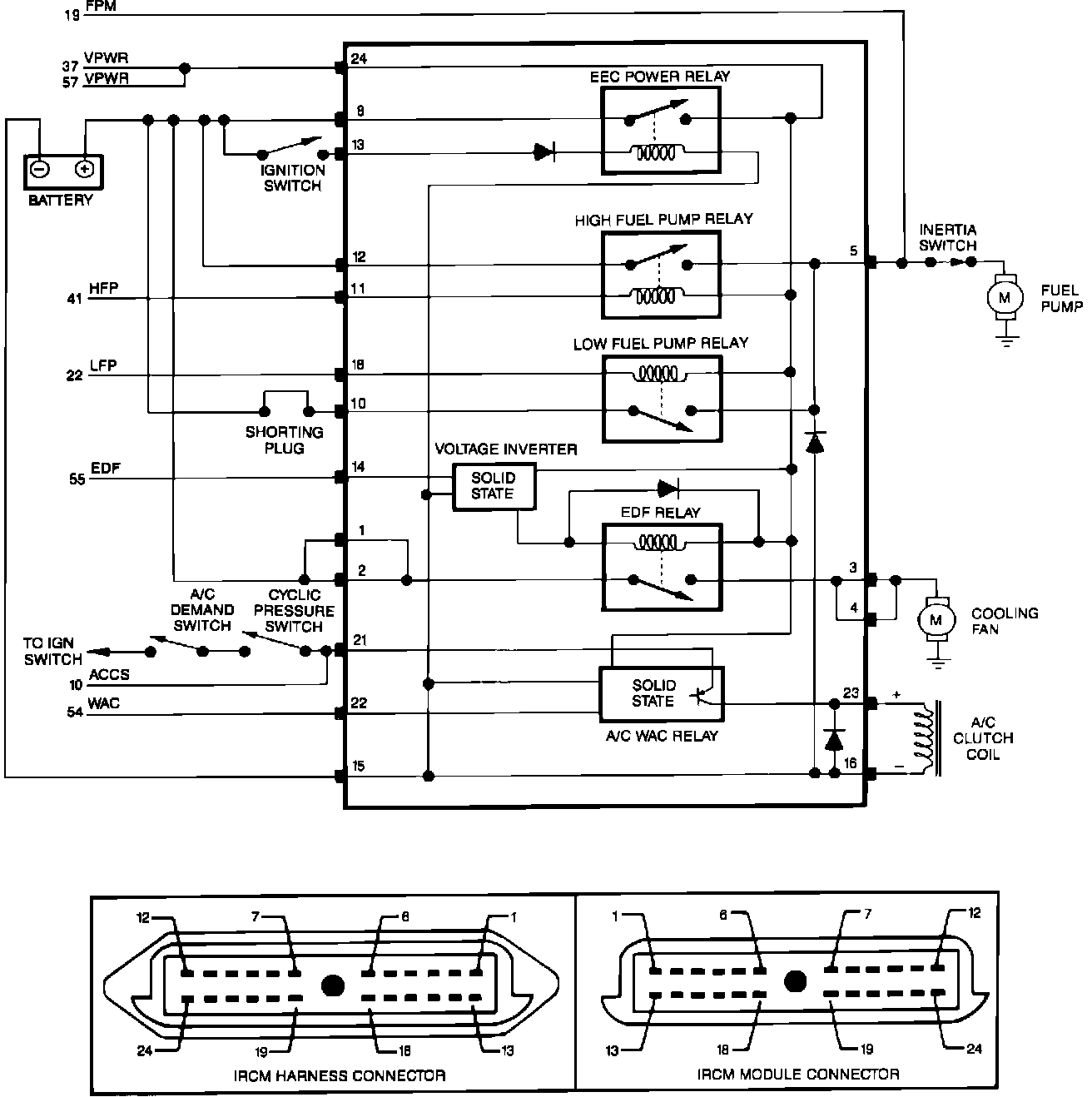
X - Testing Schematic

Integrated Relay Control Module: