Curiosii for ever!: Car repair manuals for everyone.

Spring Lock Coupling




Spring Lock Coupling









Disconnect

NOTE: If a leak has been found at a spring lock coupling, inspect the O-ring sealing surfaces on the male and female sides of the fitting for damage or scratches. Replace the affected component if damage is identified. If no damage is present, thoroughly clean both sides of the fitting using a suitable non-abrasive cloth, lubricate with PAG oil and install new O-ring seals. Due to subtle differences in O-ring sizes, it is critical for leak prevention that the correct O-ring seal be identified. Refer to the Ford Catalog Advantage(TM) or equivalent for the specific vehicle and application. When repairs are complete, leak test the spring lock coupling to verify the repair.

1. Remove the spring lock coupling clip, if equipped.

2. NOTICE: Do not use metal tools to remove the O-ring seals. They may cause axial scratches across the O-ring seal grooves, resulting in refrigerant leaks.

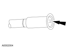
Push the Refrigerant Coupling Spring Remover into the cage opening to release the female fitting from the spring lock coupling spring and pull the fitting apart.
- Remove the O-ring seals using a non-metallic tool.






3. NOTICE: Do not use a screwdriver or similar tool to remove the Air Conditioning (A/C) tube lock coupling spring; this may cause axial scratches across the O-ring seal grooves resulting in refrigerant leaks.

Remove the spring lock coupling spring with a small hooked wire.






Connect

NOTICE: It is imperative that the sealing surface of the spring lock coupling and O-ring seal be clean and completely free from debris. To prevent contamination, only new PAG oil should be used as an O-ring seal lubricant. Contamination from used PAG oil, residual PAG oil from inside the refrigerant system or a failure to thoroughly clean the fitting sealing surface will interrupt the O-ring seal-to-fitting sealing surface and cause refrigerant system leaks.

1. Install the spring lock coupling spring.





2. Lubricate the inside of the coupling with PAG oil.





3. NOTICE: Use only the new O-ring seals. The use of any O-ring seals other than those specified in the Ford Catalog Advantage(TM) or equivalent may result in intermittent leakage during vehicle operation.

Install the O-ring seals.






4. Connect the spring lock coupling fittings with a twisting motion until the spring lock coupling spring snaps over the flared end of the female fitting.





5. Install the spring lock coupling clip.