Curiosii for ever!: Car repair manuals for everyone.

Clutch Switch: Service and Repair




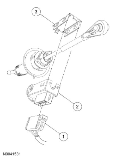
Clutch Pedal Position (CPP) Switch









Removal and Installation

1. Disconnect the Clutch Pedal Position (CPP) switch electrical connector.

2. Spread the CPP switch apart. Remove from the pedal rod.

3. To install, reverse the removal procedure.